十四孔枕头图纸

混凝土枕规格尺寸
图片尺寸400x211
玲珑枕双孔耳枕图纸
图片尺寸1080x810
午睡枕baj39
图片尺寸1598x1992
枕头的制作方法
图片尺寸700x1000
六孔玲珑枕终于成功了
图片尺寸1080x810
一种枕头的制作方法
图片尺寸444x227
一种婴儿枕头的制作方法
图片尺寸1000x959
一种软硬高低可调整的枕头
图片尺寸1277x958
超详细布艺玲珑枕的制作方法 民间传统手工艺制作单孔,六孔耳枕
图片尺寸2592x1936
2022新品玲珑枕头枕头玲珑枕不压耳朵透气中药助.
图片尺寸350x350
超详细布艺玲珑枕的制作方法 民间传统手工艺制作单孔,六孔耳枕
图片尺寸2592x1936
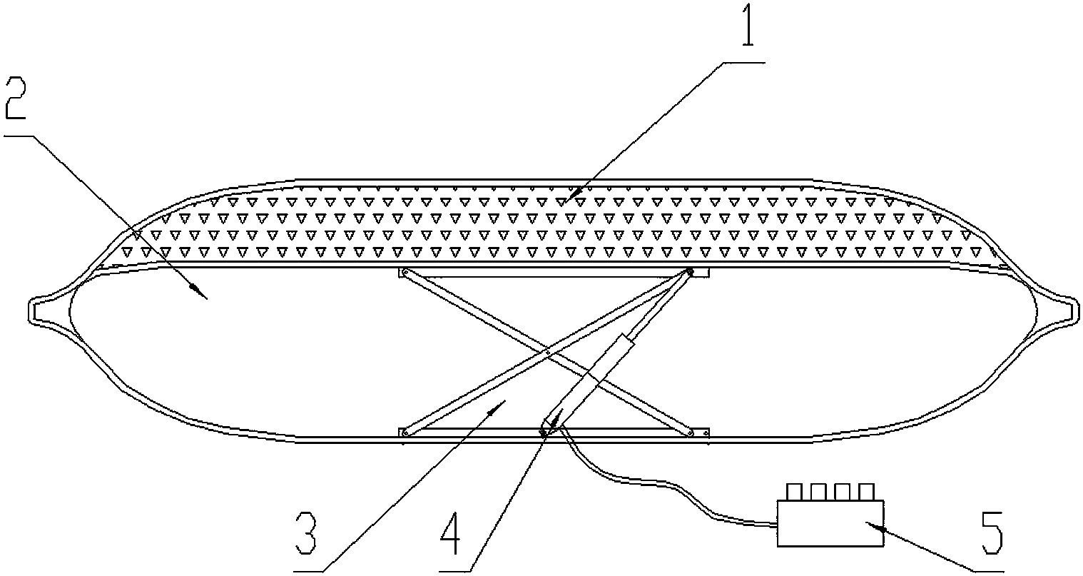
cn107334335b_高度可调枕头有效
图片尺寸1518x807
一种智能枕头制造技术
图片尺寸1000x772
枕头(十二孔玲珑枕花瓣形孔)
图片尺寸1376x1113
十四孔枕头做法和图解 十四孔枕头做法和图解图片
图片尺寸310x310
原创古人睡觉老爱用瓷枕头不难受么其实是为了方便女子
图片尺寸1360x1265
一种新型多功能u型枕的制作方法
图片尺寸1000x980
cn209629300u_护颈枕有效
图片尺寸1000x720
玲珑枕~ 上好的花萝香云纱,每一片都烫了真丝衬,一针一线缝一个枕头
图片尺寸1708x1280
耳枕,因在枕头的中心留有一孔,侧睡时可以保护耳朵不受压迫而得名.
图片尺寸660x372