千斤顶拆解

信誉高 经久耐用 机械式千斤顶,机械千斤顶
图片尺寸736x800
教你如何拆解rr5020双作用千斤顶
图片尺寸1080x1440
正品保证 螺旋千斤顶 ql型机械式千斤顶 手摇千斤顶 杭州懒汉
图片尺寸748x846
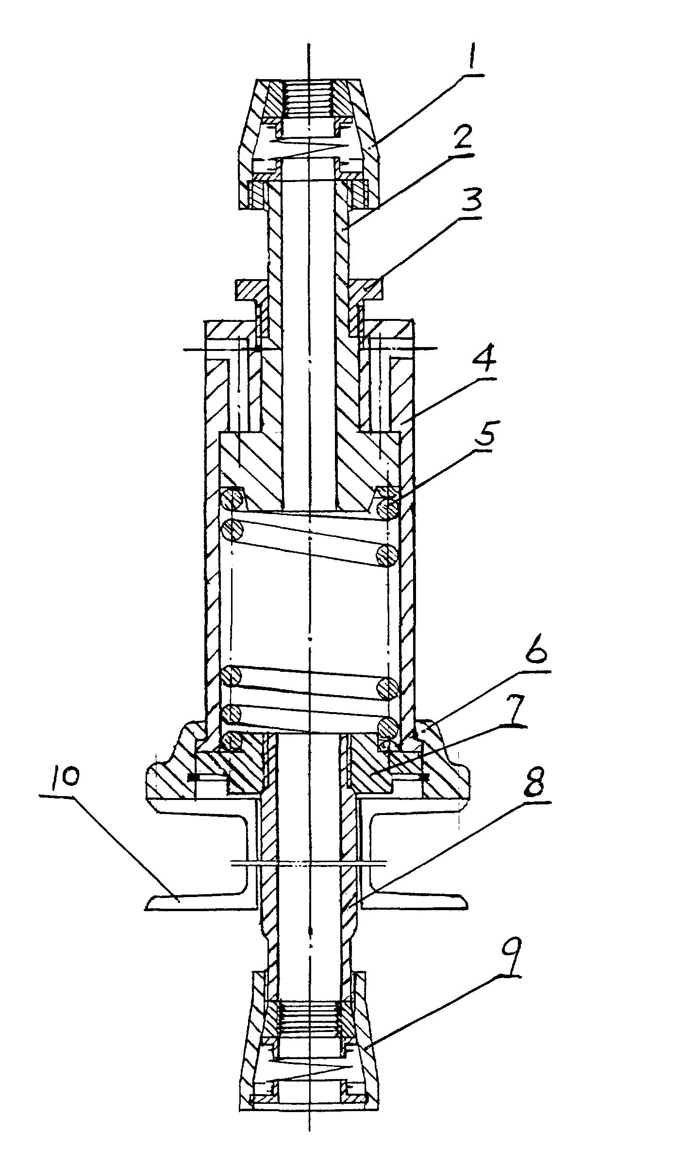
千斤顶的拆装
图片尺寸920x1302
卧式千斤顶制造技术
图片尺寸1000x608
螺旋千斤顶附工程图
图片尺寸530x497
50吨液压千斤顶是什么样?看看老师傅拆解维修,这动手能力没谁了
图片尺寸1728x1080
千斤顶拆开初试一下
图片尺寸1200x900
千斤顶与特殊拆装工具
图片尺寸1024x683
美国邦克3t卧式液压千斤顶 家用汽车维修拆装换胎工具 起重器材
图片尺寸740x740
20t50t吨空心千斤顶液压手动千斤顶多功能拉套拆刹车活塞千斤顶20吨
图片尺寸990x990
沪工液压立式千斤顶轿车车用车载2吨越野换胎千斤顶
图片尺寸800x800
千斤顶闪电客5t爪式千斤顶 油压手摇起重跨顶工具 液压起道机低位
图片尺寸800x800
junesix汽车用千斤顶卧式液压千斤顶起重工具额定载重3t4t263kg25吨铝
图片尺寸790x1179
千斤顶维修教程
图片尺寸500x475
可带载换卡块的滑模千斤顶-爱企查
图片尺寸1440x2400
手动70吨空心千斤顶液压压链销机挖掘机履带拆销千斤顶
图片尺寸800x800
厂家直供爪式千斤顶液压30t吨立式跨顶5t10t20油压低位重型起道机
图片尺寸750x1527
汽车千斤顶多少钱
图片尺寸640x360
一体机千斤顶
图片尺寸400x400