升降办公桌原理

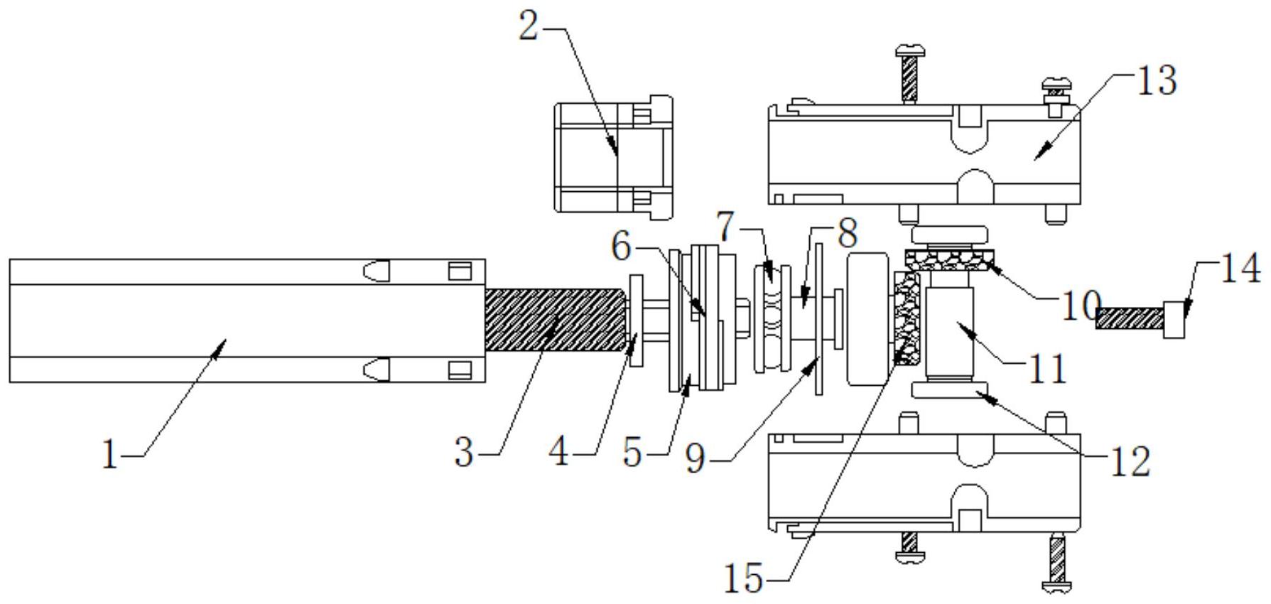
包括办公桌,所述的办公桌包含升降桌,插排,调节压杆,气压升降装置,底
图片尺寸1251x1290
一种升降桌用升降结构-爱企查
图片尺寸1789x850
背景技术:现在日常生活中,桌子椅子是必备品,在办公场合或者在居家
图片尺寸1000x968
一种电动升降桌结构的制作方法
图片尺寸444x380
一种带显示器自动升降板的智能办公桌的制作方法
图片尺寸422x343
一种可升降办公学习桌的制作方法
图片尺寸946x1000
升降桌
图片尺寸1452x1896
电动升降桌气动站立式学习写字桌办公工自动记忆笔记本台式电脑桌
图片尺寸750x587
一种升降桌机构的原理讲解!
图片尺寸600x338
答案也很简单,电动升降桌能在最短时间内完成坐办公与站立办公直接的
图片尺寸1224x888
自动升降书桌
图片尺寸1733x1968
结构改进的桌上型升降工作站-爱企查
图片尺寸633x1093
吃饭,写字或工作等,为了迎合大众需求,桌子类型丰富多样,如办公桌
图片尺寸361x443
一种双电机双管式可升降办公桌制造技术
图片尺寸728x1000
应用于电动升降办公桌的线性驱动系统.jpg
图片尺寸499x320
cn211984309u_一种可升降调节的办公桌有效
图片尺寸342x399
cn204499878u_升降式电脑办公桌失效
图片尺寸1680x1170
可同步联动升降的桌子-爱企查
图片尺寸590x800
一种电动升降的学习桌的制作方法
图片尺寸966x1000
一种升降桌的制作方法
图片尺寸1000x927