升降杆结构图

欧克电动升降杆系列车载升降杆军用天线监控okdd06sj
图片尺寸751x801
梯形丝杆升降机价格经济,结构紧凑,操作简单,保
图片尺寸460x504
一种回字连接结构的升降杆-爱企查
图片尺寸576x1254
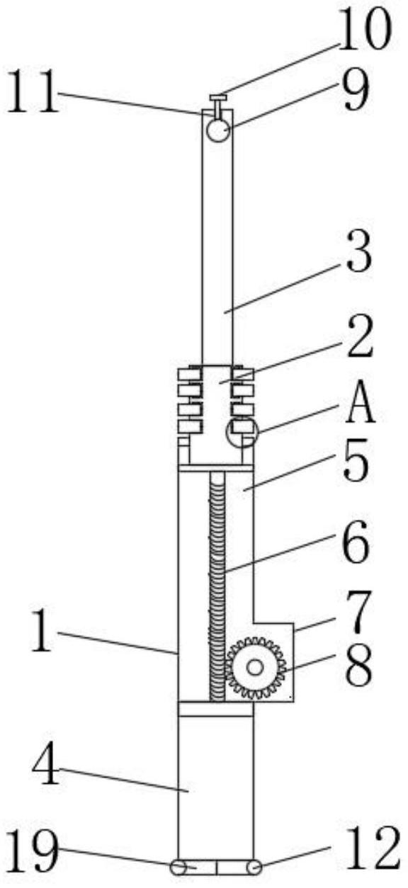
一种可以精确调节高度的电动升降杆的制作方法
图片尺寸577x1000
cn201214619y_一种简易手动升降杆失效
图片尺寸1152x2061
cn100404912c_方管形丝杠传动升降杆有效
图片尺寸1305x2877
5米/6米/9米手摇升降杆,移动灯塔
图片尺寸676x875
一种丝杆升降开放机构-爱企查
图片尺寸615x800
一种强制式同步升降杆的制作方法
图片尺寸485x1000
一种锁紧升降杆
图片尺寸1160x1834
滚珠丝杠升降机构装配图-海洋传动
图片尺寸849x497
照明车升降立柱
图片尺寸1376x2296
雪典手摇升降杆的用途介绍
图片尺寸601x230
内走线式升降杆
图片尺寸752x2527
德迈传动dm系列丝杆升降机产品结构图
图片尺寸563x701
机械升降机构图
图片尺寸568x451
罗升机电第355期丝杆升降机采用什么驱动进行工作的
图片尺寸1080x503
一种多用途升降杆理发椅的制作方法
图片尺寸979x1000
6米手摇升降杆技术参数
图片尺寸457x475
失效风险的座椅升降机构和系统,包括座垫骨架,座椅安装座,四根连杆
图片尺寸2832x1883