升降椅结构图

一种椅背可调的升降椅结构的制作方法
图片尺寸440x444
cn213056786u_一种用于汽车座椅的升降机构
图片尺寸1849x1315
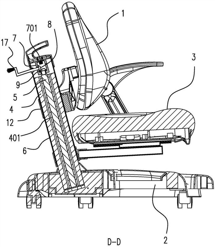
能够降低碰撞失效风险的座椅升降机构和系统
图片尺寸2832x1883
升降椅爆炸 关键在于气压杆内气体
图片尺寸600x362
一种汽车座椅的椅面升降装置
图片尺寸1574x1581
一种电动升降的人体工学椅的制作方法
图片尺寸326x443
一种升降式椅子的制作方法
图片尺寸320x443
迈亚家具吧台椅凳升降凳圆凳子酒吧凳升降椅子旋转办公椅
图片尺寸790x950
cn201414595y_可升降的折叠椅失效
图片尺寸2032x2573
本发明涉及椅子结构技术领域,具体为一种可升降的两用椅子.
图片尺寸950x1000
面对琳琅满目的办公椅 如何挑选适合自己的办公升降椅
图片尺寸563x524
办公椅职员椅升降椅子转椅老板椅电脑椅中班椅休闲椅家用时尚
图片尺寸1877x1920
一种手动式汽车座椅单独升降机构的制作方法
图片尺寸806x1000
一种四连杆升降座椅的制作方法
图片尺寸968x1000
附图摘要本实用新型提供了一种升降椅背及座椅,涉及一种座椅的结构
图片尺寸696x800
一种汽车电动升降后排座椅的制作方法
图片尺寸415x443
背景技术:现有控制椅子升降的传动机构结构复杂,由于底盘空间小,很难
图片尺寸897x1000
一种办公椅腰靠升降调节结构的制作方法
图片尺寸330x443
斜挂弯轨座椅电梯 楼梯升降椅 斜挂升降梯 斜挂座椅电梯
图片尺寸421x592
汽车座椅升降机构的制作方法
图片尺寸1000x794