升降舞台结构图

升降舞台的制作方法
图片尺寸1000x844
电动升降舞台系统
图片尺寸3309x2339
一种凸台和深坑能同时实现的升降舞台
图片尺寸1962x1663
一种升降旋转舞台的制作方法
图片尺寸943x1000
升降舞台
图片尺寸1600x1280
一种舞台音响移动减震升降台的制作方法
图片尺寸1000x744
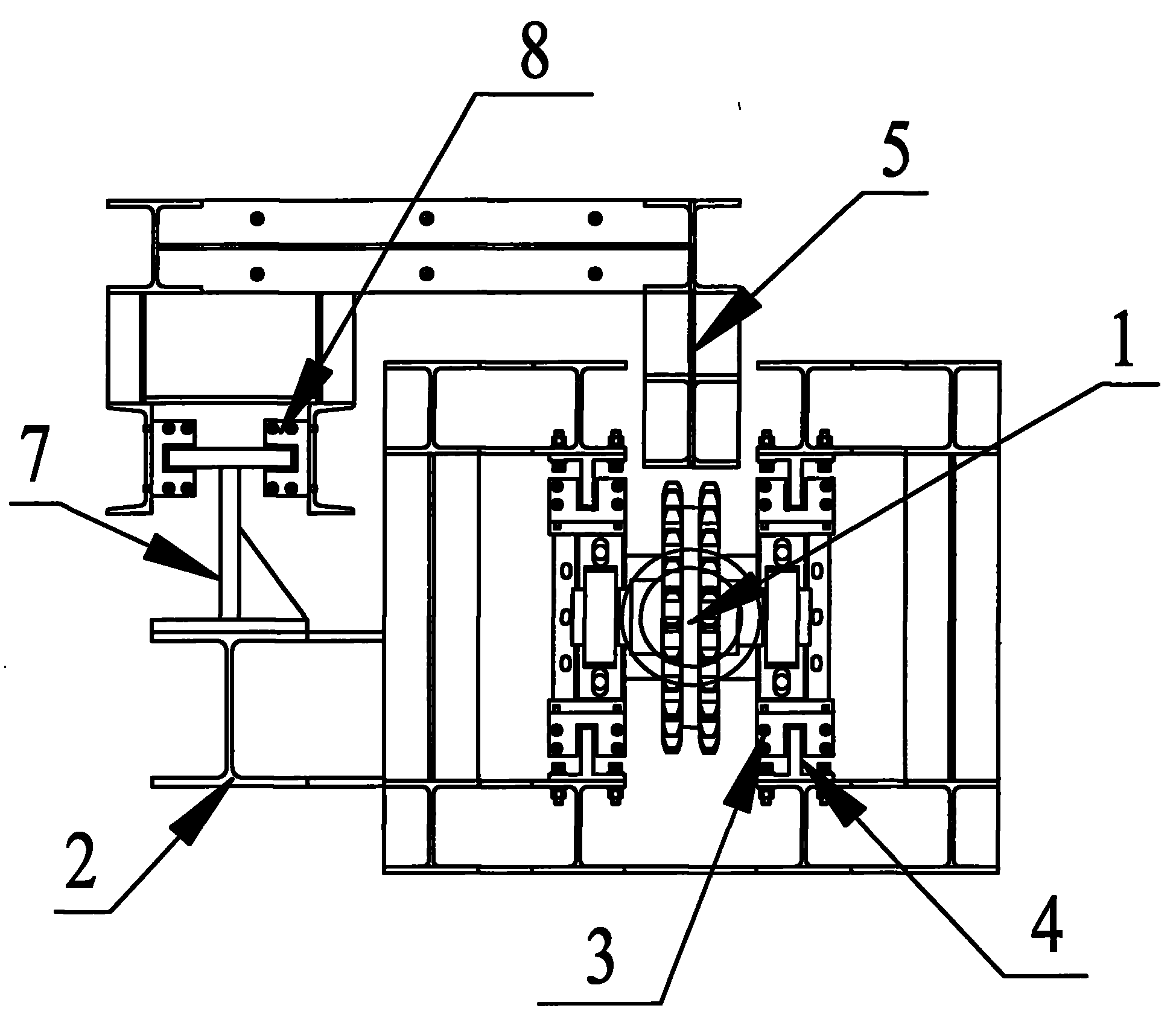
本发明属于演艺表演设备技术领域,涉及一种升降舞台,包括舞台主体结构
图片尺寸2159x1823
一种升降舞台制造技术
图片尺寸1000x641
cn210323755u_一种可卷曲隐藏式激光电视一体机用幕布升降机构有效
图片尺寸1666x1301
某展厅升降舞台设计图
图片尺寸730x691
一种升降装置及使用该升降装置的舞台结构
图片尺寸1949x1685
是占据主导性地位的歌剧院舞台结构模式,其结构科学合理,舞台机械构成
图片尺寸812x478
一种使用安全的曲臂式升降平台
图片尺寸1989x1798
旋转升降舞台图片大全
图片尺寸715x384
电动升降舞台系统
图片尺寸3309x2339
一种带辅助起升块的丝杆驱动升降台制造技术
图片尺寸1000x881
某小型升降舞台示意图
图片尺寸610x345
一种纺织机械升降台的制作方法
图片尺寸965x1000
一种建筑用简易搭接型升降台的制作方法
图片尺寸945x1000
以前舞台一般为台面固定结构,不能升降,这种舞台结构对节目的编排
图片尺寸443x296