半导体炉管工艺

半导体加工工艺流程
图片尺寸960x720
半导体行业(一百六十一)——加热工艺(二)_炉管
图片尺寸679x293
分享下半导体工艺设备之单晶炉,这些你都知道吗!
图片尺寸600x1028
在半导体制造过程中,尤其是半导体热处理工艺中,立式炉由于其占地面积
图片尺寸443x336
半导体工艺设备之单晶炉
图片尺寸800x480
半导体芯片制造工艺流程图
图片尺寸1226x854
通过炉管,湿刻,淀积,光刻,干刻,注入,退火等不同工艺流程在半导体晶圆
图片尺寸726x413
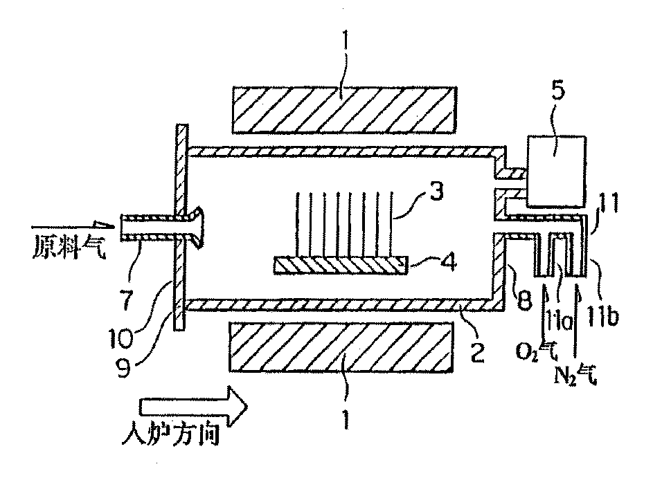
半导体器件的制造方法
图片尺寸943x694
【芯查查热点】意法半导体未来将进军 10nm 工艺;台积电不排除在日本
图片尺寸6000x4004
news史上最全的半导体工艺设备汇总
图片尺寸661x604
设备就是"单晶炉",先把硅料做成硅棒,然后切成硅片,半导体领域叫晶圆
图片尺寸640x414
半导体行业行业废气处理解决方案
图片尺寸3307x1809
百度爱采购首页 商品专题_半导体设备立式扩散炉:是一种用于直径 200
图片尺寸730x524
材料_制造_半导体
图片尺寸1080x443
量伙退火炉_报价-量伙半导体设备(上海)有限公司
图片尺寸5000x2813
除了光刻机这些半导体制造工艺也很重要
图片尺寸660x371
半导体工艺技术 (3)ppt
图片尺寸1080x810
产品介绍主要用于半导体工艺制造中硅片的掺杂工艺.
图片尺寸1360x941
【创新】北方华创"刻蚀方法及半导体工艺设备"专利公布;飞骧科技射频
图片尺寸1080x748
1400℃气相沉积炉
图片尺寸2784x2069