半悬挂舵

我小时候做的船,就是用的悬挂式的不平衡平板舵.
图片尺寸640x420
半悬挂舵
图片尺寸1080x810
1/350 rc船悬挂舵
图片尺寸964x602
形舵); 按支承型式分有双支承舵,多支承舵,悬挂舵和半悬挂舵
图片尺寸800x968
五弯矩方程在半悬挂舵舵杆受力计算中的应用
图片尺寸400x533
这可能听起来很奇怪,船舵不是用来控制方向的吗?
图片尺寸600x401
62公分地中海木质做旧立体墙面船舵半舵装饰 衣帽钥匙挂钩创意
图片尺寸1920x1440
可以分为:多支承舵(图一),半悬挂舵(图二),悬挂舵(图三),双支承舵(图
图片尺寸510x414
悬挂式后置舵半潜浆推进装置-爱企查
图片尺寸1824x1440
地中海风格海洋鱼骨鱼串家居墙面装饰背景墙壁挂半舵船锚挂件壁饰
图片尺寸800x800
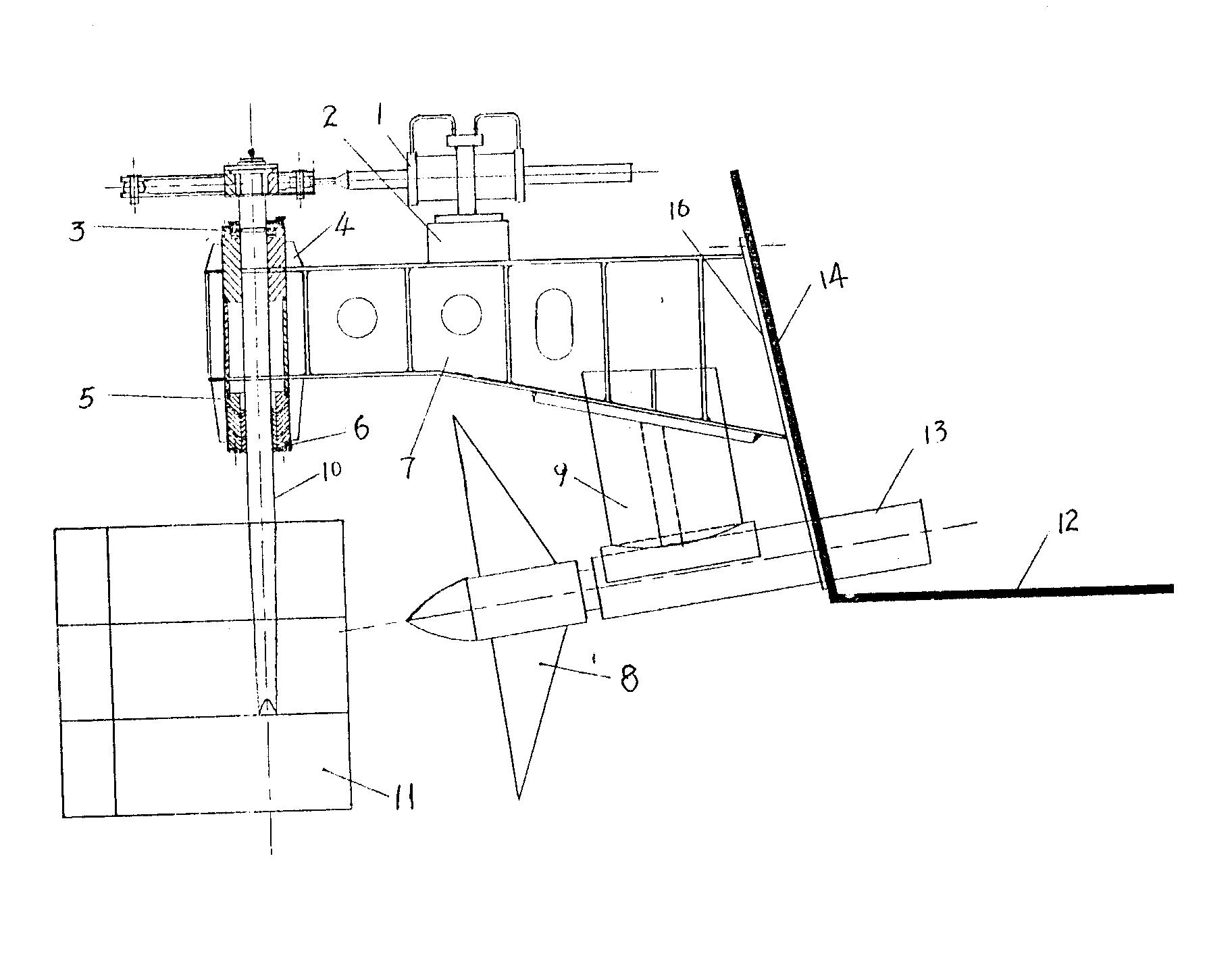
发明一种更换半悬挂舵的舵销轴承的方法申请号:申请公布号:cn
图片尺寸400x465
按舵杆轴线位置来分可以分为:多支承舵(图一),半悬挂舵(图二),悬挂舵
图片尺寸474x245
舵系修理
图片尺寸416x235
南通远洋首制h3015高效全悬挂舵叶圆满交付
图片尺寸450x312
如果是悬挂的电推吊舱,挂桨机船,是可以通过控制螺旋桨转向的.
图片尺寸313x448
非对称全悬挂舵
图片尺寸600x450
南通远洋首制高效全悬挂舵叶顺利交付
图片尺寸525x345
除常规船型以外的23000teu集装箱船新造船全悬挂舵舵系产品订单6船套
图片尺寸820x615
地中海风格木质工艺品壁挂创意家居壁饰墙上装饰海洋风半舵三挂钩
图片尺寸700x494
(图)甲板悬挂式舵桨
图片尺寸600x420