单元体

韩国,首尔,松坡区某小型住宅地灵活单元体.pdf
图片尺寸800x1132
hypercubus单元体
图片尺寸1333x2000
一种用于金属3d打印的镂空单元体和具有该单元体的零件
图片尺寸711x679
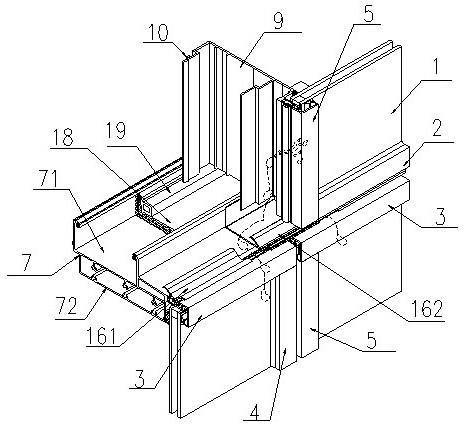
单元体幕墙
图片尺寸600x579
led平板灯具单元体(6)-爱企查
图片尺寸1583x1051
单元体玻璃幕墙节点 纵横一体单元体模型 单元体节点
图片尺寸800x800
一种用于金属3d打印的镂空单元体和具有该单元体的零件的制作方法与
图片尺寸659x555
hypercubus单元体 / studio wg3
图片尺寸2000x1333
单元体和框架幕墙对比分析(pdf,18页)
图片尺寸357x287
供应12芯odf单元体,24芯odf单元体,48芯odf单元体,96芯odf单元体
图片尺寸300x300
关于点式玻璃幕墙和单元体幕墙的介绍 - 姚立文 - 一个幕墙公司经理的
图片尺寸595x445
hypercubus单元体 / studio wg3, karin lernbei
图片尺寸1582x791
hypercubus单元体 / studio wg3, karin lernbei
图片尺寸667x1000
72芯odf配线单元体
图片尺寸600x600
hypercubus单元体 / studio wg3, karin lernbei
图片尺寸667x1000
一种单元体幕墙-爱企查
图片尺寸464x428
cn106247159b_一种用于金属3d打印的镂空单元体和具有该单元体的零件
图片尺寸722x688
单元体应力状态-地震-专业词典
图片尺寸455x465
单孔生态浮床单元体
图片尺寸1044x788
供应odf单元体
图片尺寸653x433