单效浓缩器简图

单效浓缩器工作原理及其组成结构解析_北京舜甫科技有限公司
图片尺寸500x419
制药企业500l单效浓缩器装配图
图片尺寸820x1236
单效浓缩器2
图片尺寸735x545
单效浓缩器分类回收酒精的方法与流程
图片尺寸993x1000
一种便于取样观察且分浓度回收酒精的单效外循环浓缩器
图片尺寸1908x1350
cn202942649u_带收膏的单效浓缩器失效
图片尺寸1000x893
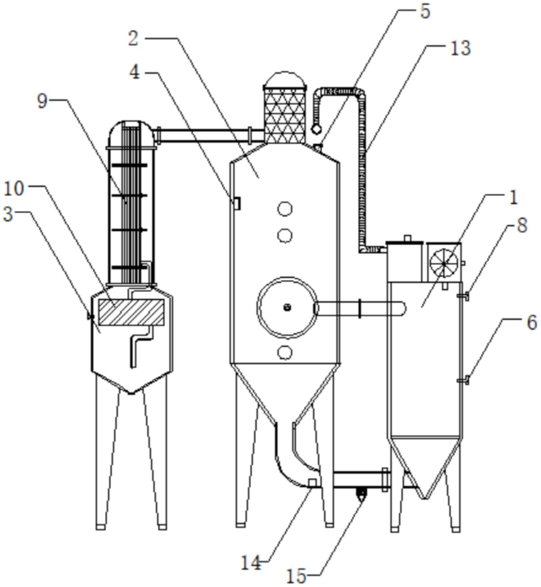
一种单效浓缩器
图片尺寸1637x1687
单效外循环蒸发器浓缩器
图片尺寸739x530
单效浓缩器分类回收酒精的方法
图片尺寸1830x1842
cn206483169u_单效浓缩器有效
图片尺寸1000x730
cn2792586y_单效浓缩器
图片尺寸1029x1417
一种用于提取物加工的单效外循环浓缩器-爱企查
图片尺寸1722x1867
一种卧式加热单效浓缩器
图片尺寸1000x845
单效外循环真空浓缩器
图片尺寸1200x1249
一种单效刮板浓缩器
图片尺寸894x1000
300单效外循环浓缩器cad图纸
图片尺寸820x1159
一种高浓缩效率的单效外循环真空浓缩器
图片尺寸1971x2221
一种高效密闭性能好的单效浓缩器的制作方法
图片尺寸1000x931
一种单效真空浓缩器的制作方法
图片尺寸1000x808
一种单效外循环浓缩器的制作方法
图片尺寸930x1000