单晶炉水冷屏

首页 单晶炉配件
图片尺寸3024x4032
国产高端水冷高清显示屏冷排集成水泵昆仑二代360水冷
图片尺寸660x441
全球首款3d曲面屏oled水冷散热器今日发布
图片尺寸1179x884
有屏更有可玩性带屏水冷散热器消费指南
图片尺寸660x462
麦克维尔中央空调温控器ac8100液晶屏水冷风机盘管面板特灵格力空调
图片尺寸3456x3456
有屏更有可玩性——带屏水冷散热器消费指南|水冷散热器|散热器_新浪
图片尺寸700x764
有屏更有可玩性带屏水冷散热器消费指南
图片尺寸660x476
创氪星系推出全新曲面屏一体式水冷产品
图片尺寸640x960
乔思伯推出tf2360sc屏显一体式水冷散热器699元
图片尺寸750x537
有屏更有可玩性带屏水冷散热器消费指南
图片尺寸660x428
tryx全球首款曲面屏水冷——panorama 展域
图片尺寸3377x2160
有屏更有可玩性带屏水冷散热器消费指南
图片尺寸619x485
循环流化床锅炉水冷壁防磨的各种方式分析对比_磨损_喷涂_施工
图片尺寸1423x2048
barrowch分体水冷副屏外置拓展数显高分辨率液晶88寸散热器
图片尺寸2000x2000
常州废旧单晶炉回收公司|单晶炉设备回收
图片尺寸432x746
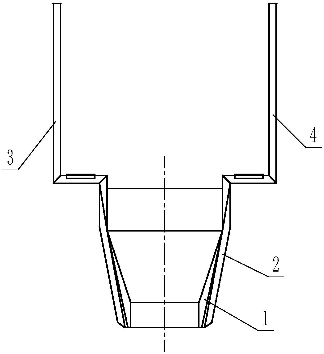
一种单晶炉的水冷热屏结构
图片尺寸957x1000
4寸usb水冷屏 机箱副屏 桌搭氛围屏 rgb氛围屏 ips圆形屏 800×800
图片尺寸960x600
tryx创氪星系品牌发布会推出amoled屏水冷及全铝海景房机箱
图片尺寸660x372
一种单晶炉水冷屏结构
图片尺寸1374x1503
单晶炉加热电源
图片尺寸750x750