单晶炉结构图

直拉法单晶炉示意图
图片尺寸769x653
单晶炉及单晶硅制备方法与流程
图片尺寸1000x855
一种半导体单晶硅的拉晶炉
图片尺寸1650x2175
单晶硅生长炉的单晶硅生长炉热场的设计与仿真
图片尺寸549x678
cz单晶炉坩埚材料的新选择
图片尺寸622x566
单晶炉结构图
图片尺寸266x612
一种单晶炉
图片尺寸1150x1940
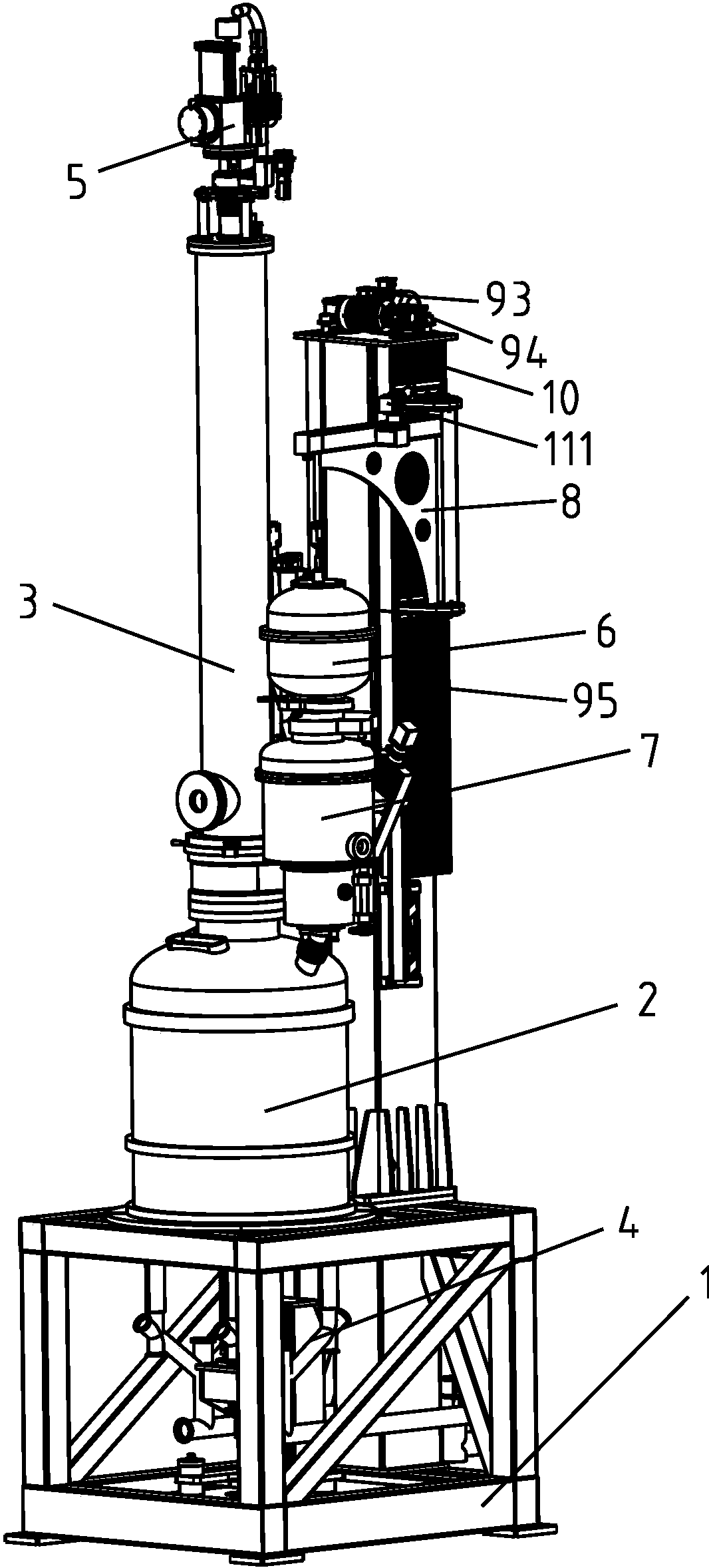
连续拉晶单晶炉
图片尺寸1066x2356
cn208121236u_一种单晶硅炉有效
图片尺寸1707x2004
旋式铸造单晶炉研发团队合影 旋式铸造单晶炉底部旋转结构 旋式铸造
图片尺寸640x618
半导体单晶炉-单晶炉机械结构
图片尺寸1200x900
图3-单晶硅炉深谙行业技术之需即便如此,光伏行业仍然是一个快速成长
图片尺寸561x650
一种反向提拉式单晶炉的制作方法
图片尺寸696x1000
单晶炉炉室壳体焊接工艺的探讨
图片尺寸500x500
一种连续加料硅单晶炉
图片尺寸924x1000
单晶炉的制作方法
图片尺寸565x570
一种光伏电池加工用单晶炉的制作方法
图片尺寸462x1000
单晶l炉结构示意
图片尺寸450x421
半导体单晶炉-单晶炉机械结构
图片尺寸1200x900
单晶炉
图片尺寸1216x1439