单缸插销自动出臂步骤

吊臂伸缩原理:"单缸插销"一个视频看懂!
图片尺寸930x405
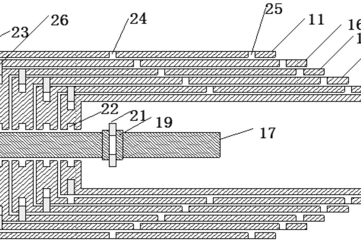
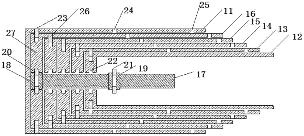
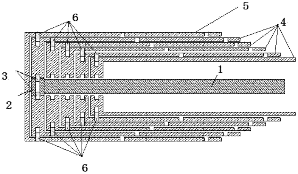
一种单缸插销式伸缩臂,起重机及其伸缩方法
图片尺寸1000x457
汽车起重机知识 单缸插销式吊臂装配要点: 3.
图片尺寸1080x810
中联重科自动收臂教程#中联重科#单缸插销 #原创
图片尺寸440x330
自主研制单缸插销式伸缩臂技术
图片尺寸500x454
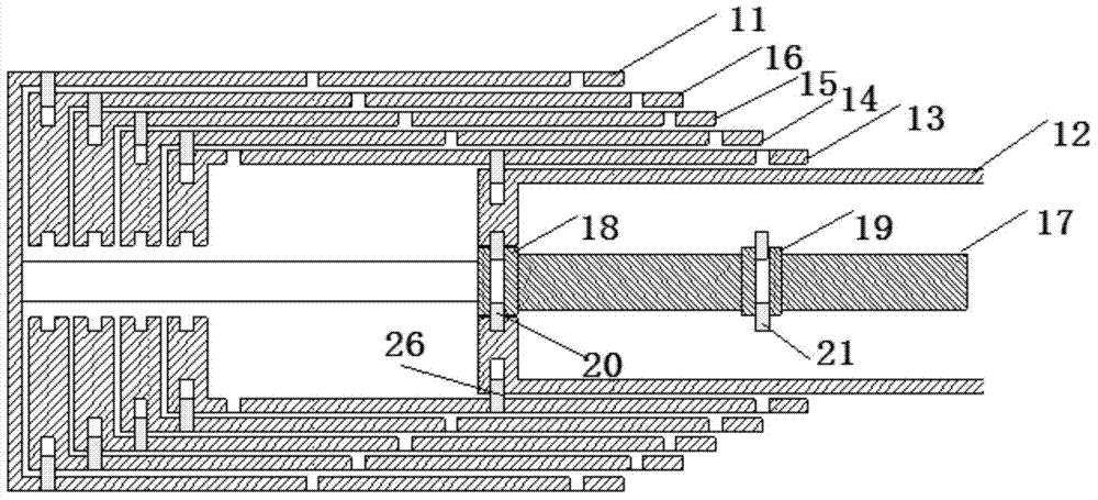
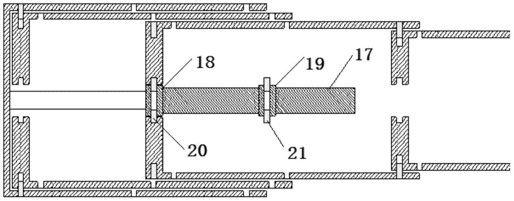
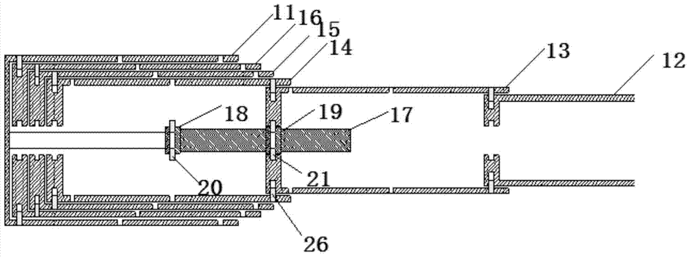
一种单缸插销式伸缩臂,起重机及其伸缩方法
图片尺寸1000x448
单缸插销伸缩机构ppt
图片尺寸1080x810
cn106256751b_单缸插销式伸缩臂臂销倒扣的控制方法和系统,及起重机
图片尺寸1000x630
一种单缸插销式伸缩臂,起重机及其伸缩方法
图片尺寸1000x373
单缸插销式伸缩臂的伸缩油缸和单缸插销式伸缩臂的制作方法
图片尺寸1000x544
一种单缸插销式伸缩臂,起重机及其伸缩方法
图片尺寸1000x586
单缸插销吊车隔山打牛!
图片尺寸978x611
电缆卷筒装置单缸插销伸缩臂系统及起重机的制作方法
图片尺寸1000x600
一种单缸插销式伸缩臂,起重机及其伸缩方法
图片尺寸1201x800
一种单缸插销式伸缩臂,起重机及其伸缩方法
图片尺寸1000x391
一种单缸插销式伸缩臂,起重机及其伸缩方法
图片尺寸1000x466
背景技术:大吨位起重机为实现吊臂伸缩一般采用单缸插销式伸缩结构
图片尺寸1000x892
一种单缸插销式伸缩臂,起重机及其伸缩方法
图片尺寸1000x455
一种单缸插销式伸缩臂制造技术,单缸插销自动出臂步骤专利_技高网
图片尺寸1000x993
lemmaid="5608135">起重机械 /a>的一种重要结构,用于是改变臂架长度
图片尺寸1080x810