单臂吊结构

墙壁吊发动机吊机05吨1吨固定式起重机小型吊机单臂吊
图片尺寸750x501
5t挂壁式悬臂吊价格固定式单臂吊7字吊厂家
图片尺寸1028x743
300kg以内的轻型单臂吊在辅助省力搬运中应用较为广泛,其结构基本一致
图片尺寸431x443
立柱式悬臂吊独臂吊墙壁吊摇臂吊1吨2吨3吨5吨电动旋转360度180度
图片尺寸689x492
bz手动悬臂吊单臂吊270度独臂吊起重机支持定制
图片尺寸828x618
外销型 移动式手动液压小吊机 3吨 2t折叠式手动液压单臂小吊机
图片尺寸1321x1920
定制移动叉腿式全电动单臂吊平衡吊车 可调叉脚全电动小型悬臂吊
图片尺寸1406x1920
墙壁式小型单臂吊手动单臂吊手动立柱悬臂吊自动上料机无葫芦
图片尺寸750x750
单臂吊机1吨2t小型可折叠重型单臂吊欧式可移动式悬臂小吊车
图片尺寸750x1447
定制移动叉腿式全电动单臂吊平衡吊车 可调叉脚全电动小型悬臂吊
图片尺寸1388x1920
单臂吊机 电动旋转悬臂吊起重机立柱式独臂吊500kg1吨2吨3吨手动单臂
图片尺寸750x763
无腿配重式手动液压吊机平衡重式全电动单臂吊机手动液压小吊车
图片尺寸970x633
欧式重型单臂吊结构尺寸图:折叠式液压小吊车广泛的用于各种厂矿车间
图片尺寸710x308
起重平衡吊pj型单臂 吊固定曲臂平衡吊
图片尺寸578x815
昆山厂家定做0.5t可移动式kbk单梁悬臂吊直臂吊
图片尺寸750x548
供应2t电动旋转悬臂吊 生产线流水线用悬臂吊 移动式旋臂起重机
图片尺寸700x564
电动旋单臂吊架柱式简易悬臂吊1t360度
图片尺寸680x480
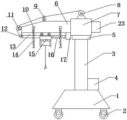
一种汽车配件加工专用移动式单臂吊机-爱企查
图片尺寸436x414
2吨悬臂吊
图片尺寸718x654
旋转式单臂吊3t
图片尺寸820x576