南岳单体泵电路图

一台水泵有故障,另外一台水泵自动启动电路图
图片尺寸1280x1804
一台水泵有故障,另外一台水泵自动启动电路图
图片尺寸1057x724
燃油泵控制电路
图片尺寸683x1047
五菱宏光s燃油泵电路.
图片尺寸960x1280
(3)油泵开关控制的燃油泵控制电路.
图片尺寸1063x726
号水泵自动启动
图片尺寸1480x1275
常用泵电动机控制电路
图片尺寸1499x877
热水循环泵一用一备电路图
图片尺寸833x1175
电动燃油泵工作电路是怎样的
图片尺寸1168x1097
电动燃油泵电路图
图片尺寸1122x1320
柴油泵电气图
图片尺寸1624x2304
农机电控单体泵发动机的使用与维护
图片尺寸1489x1880
一种油压低自启高报警泵站控制装置
图片尺寸1740x2042
五十铃电子油门泵车电气原理图
图片尺寸920x651
威特单体泵电路图
图片尺寸1188x1680
沃尔沃 (31)
图片尺寸1507x2139
中型压缩机润滑油泵控制电路
图片尺寸1603x1464
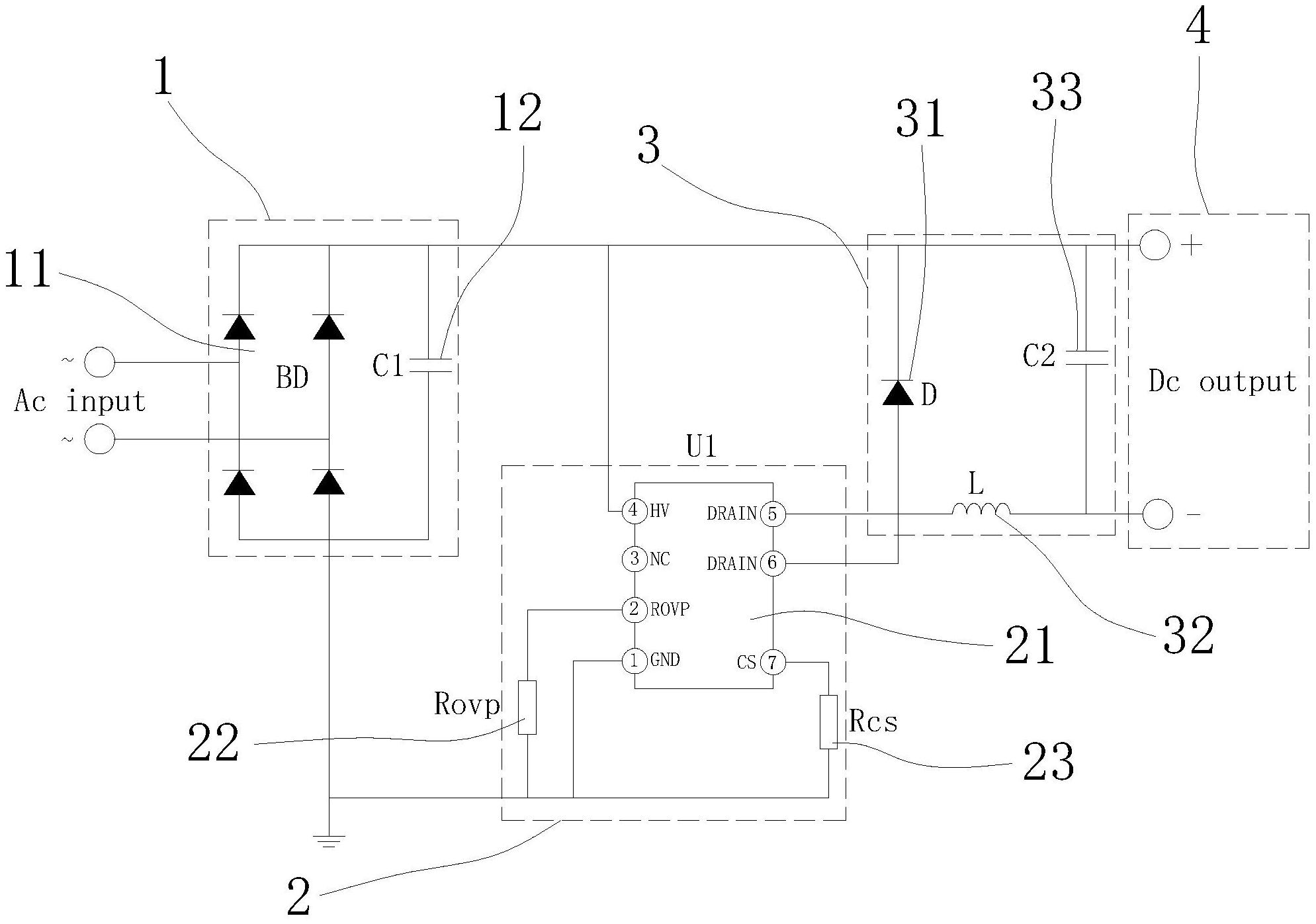
一种用于电动气泵的电源控制电路
图片尺寸1989x1396
水泵控制电路及水泵
图片尺寸1761x1785
南岳衡阳电控单体泵ndb009/ndb101/ ndb007t3/ndb111/ndb112/109t
图片尺寸800x800