卡压管安装示意图

不锈钢双卡压式管件客户常问的问题解决?
图片尺寸829x210
不锈钢卡压式管件卡压原理图解
图片尺寸800x454
卡压式连接
图片尺寸750x398
卡压管件安装步骤06-26.jpg
图片尺寸1891x2138
供应 开达/盾运/奇爱/吕峰 铝塑管配件 等径三通 本色/镀镍/卡压
图片尺寸884x572
①卡压式:配管插入管件承口(承口内带有橡胶密封圈)后,用专用工具压紧
图片尺寸259x264
专业不锈钢卡压管安装.专业304/316不锈钢卡压管安装,直 - 抖音
图片尺寸1920x1440
薄壁不锈钢管卡压式连接施工工艺pdf5页
图片尺寸792x1120
304不锈钢等径直通对接双卡压式管件转换头家装燃气薄壁自来水管
图片尺寸800x1334
薄壁不锈钢管连接方式
图片尺寸340x230
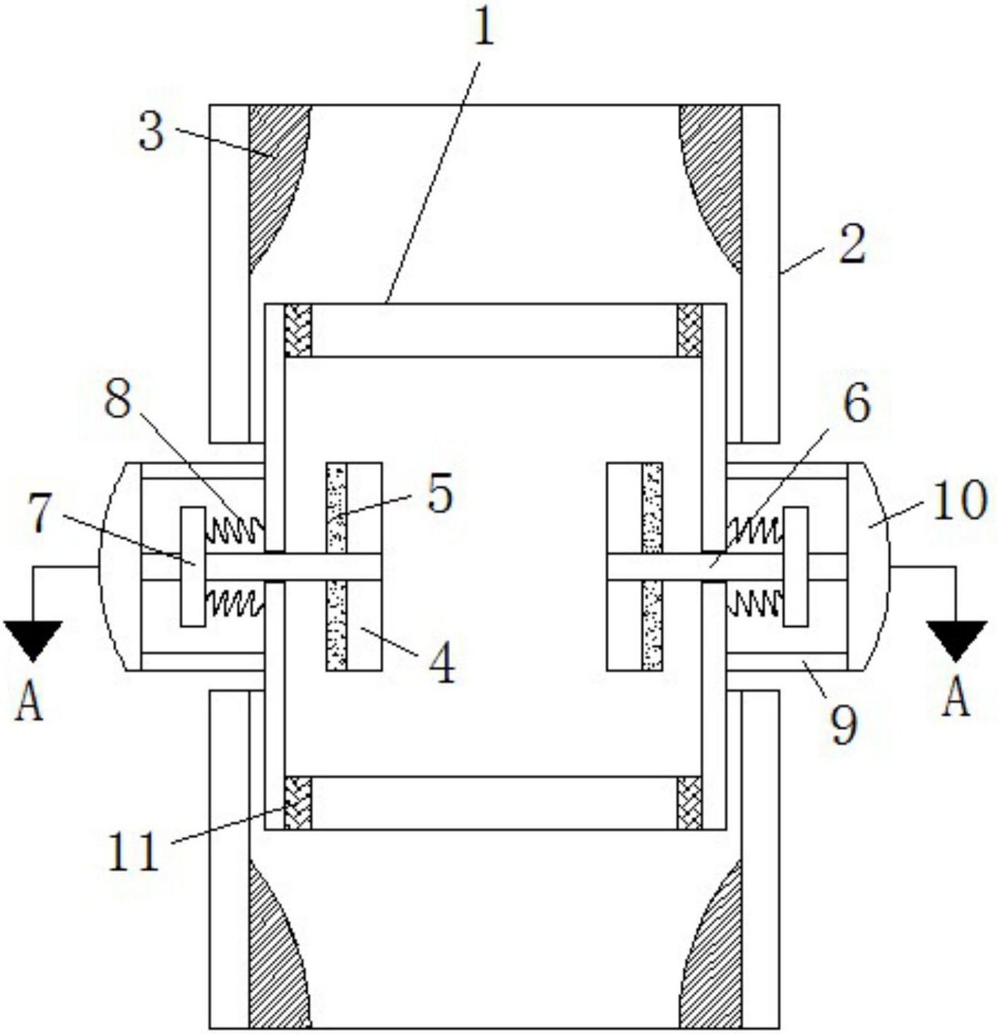
x一种新型不锈钢卡压式管道连接件-爱企查
图片尺寸1413x1463
管道连接的标准做法
图片尺寸885x551
都说薄壁不锈钢水管好那么它的安装方法是什么
图片尺寸640x598
家里安装卡压式不锈钢水管要注意什么
图片尺寸461x371
304不锈钢水管环压与卡压连接及其寿命有何区别?_管道_密封圈_变形
图片尺寸1118x596
展开全部 安装图示如下: 向左转|向右转
图片尺寸598x370
卡压连接不锈钢卡压式管件连接技术取代了螺纹,焊接,胶接等传统给水
图片尺寸443x439
专业304不锈钢卡压管安装.专业卡压,环压,压槽,不锈钢直饮 - 抖音
图片尺寸1920x1440
压接式连接_不锈钢管连接方式_成都共同管业集团股份有限公司-官方
图片尺寸314x334
抖音图文来了 #不锈钢薄壁管 #双卡压不锈钢管道 @dou - 抖音
图片尺寸1440x1920