卡座结构图

办公空间休闲卡座
图片尺寸3000x2127
重卡汽车鞍座故障
图片尺寸640x383
咖啡厅卡座尺寸_百度图片搜索
图片尺寸389x220
卡座,小户型救星!
图片尺寸900x448
某店铺施工cad卡座大样详细构造节点
图片尺寸610x432
厂家直销8 1 9p外焊自弹出式sim卡座sim-115c
图片尺寸1920x946
办公室洽谈桌椅组合简约休闲双人卡座甜品奶茶店西餐咖啡厅布沙发
图片尺寸790x964
卡座的尺寸比例
图片尺寸750x440
卡座大样
图片尺寸820x648
对坐式卡座的尺寸图单位英尺
图片尺寸564x326
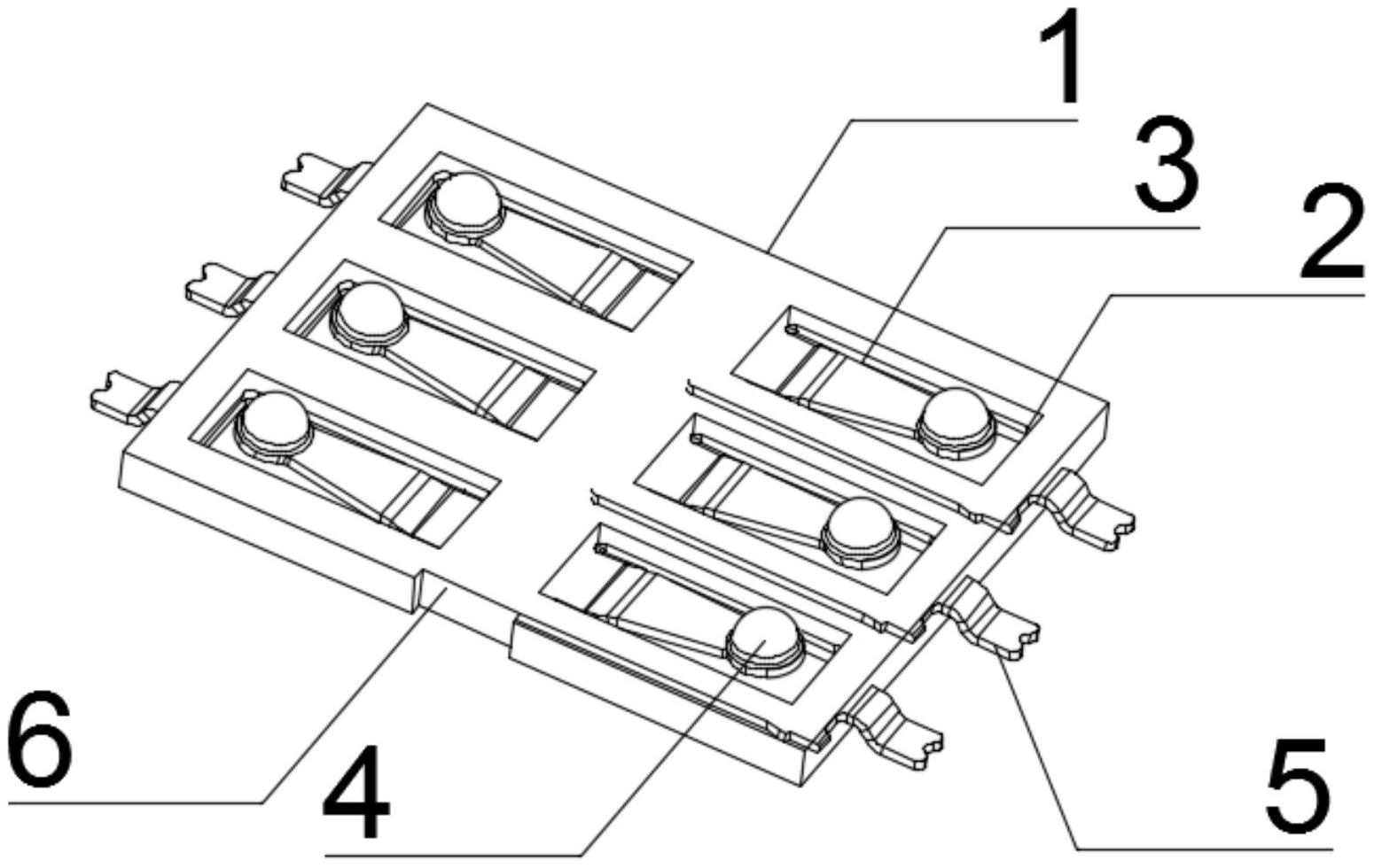
一种简易式卡托卡座一体化结构-爱企查
图片尺寸1550x980
nano sim卡座 抽屉式 6 1p 7p 带卡托 带检测脚连接器卡槽
图片尺寸1920x1357
自助餐厅(卡座,隐形门节点,很好用!
图片尺寸630x477
tf自弹卡座双压片 micro tf卡座 sd小卡座 内存卡座
图片尺寸870x481
魔友moyou酒吧清音乐吧卡座沙发火锅烧烤店西餐厅咖啡厅铁艺桌椅组合
图片尺寸790x783
卡座
图片尺寸1200x900
2015新款上海直销咖啡厅茶餐厅可拆洗双卡沙发座椅背靠背卡座沙发
图片尺寸790x559
分享室内节点详图卡座资料下载
图片尺寸560x420
6p不锈钢翻盖式sim卡座
图片尺寸1126x790
tf外焊 卡座 铜壳 tf小卡 自弹式 内存卡座 内存卡槽 防水
图片尺寸1100x761