卡扣装置图片

防脱卡扣装置-爱企查
图片尺寸1036x568
免打孔水管燃气管固定神器卡扣卡子煤气管天然气软管墙扣墙面管夹
图片尺寸400x400
控制器卡扣装置-爱企查
图片尺寸835x477
窗户卡扣限位器锁扣固定安全锁移窗推拉窗固定器儿童防坠装置 宽度8
图片尺寸990x1533
一种接地刀闸卡扣装置-爱企查
图片尺寸1120x685
起重机/行吊电动葫芦吊钩保险 1-100t加厚保险卡防脱卡扣防脱装置 10
图片尺寸424x426
电动葫芦吊钩厚保险卡起重机行车吊车行吊防脱卡扣防脱钩装置 1t厚
图片尺寸790x999
旋转按钮卡扣组件
图片尺寸300x225
蓝牙遥控器卡扣自拍器夹子 螺丝配件 蓝牙自拍器自拍杆固定装置
图片尺寸800x800
塔吊电缆线子卸荷镀锌防锈箍防脱防盗防风夹电缆线固定卡扣平撑宽度50
图片尺寸990x1268
一种卡扣装置_cn201920380127.9_知雀网
图片尺寸1000x760
钢筋式保险卡电动葫芦吊钩起重机行车双梁卡扣防脱钩装置安全挡片 20t
图片尺寸790x642
rigi加厚防脱钩卡20t保险卡扣安全防脱钩装置
图片尺寸800x800
厂家批发 电动葫芦吊钩保险卡扣 安全防脱钩装置 保险扣安全扣
图片尺寸400x400
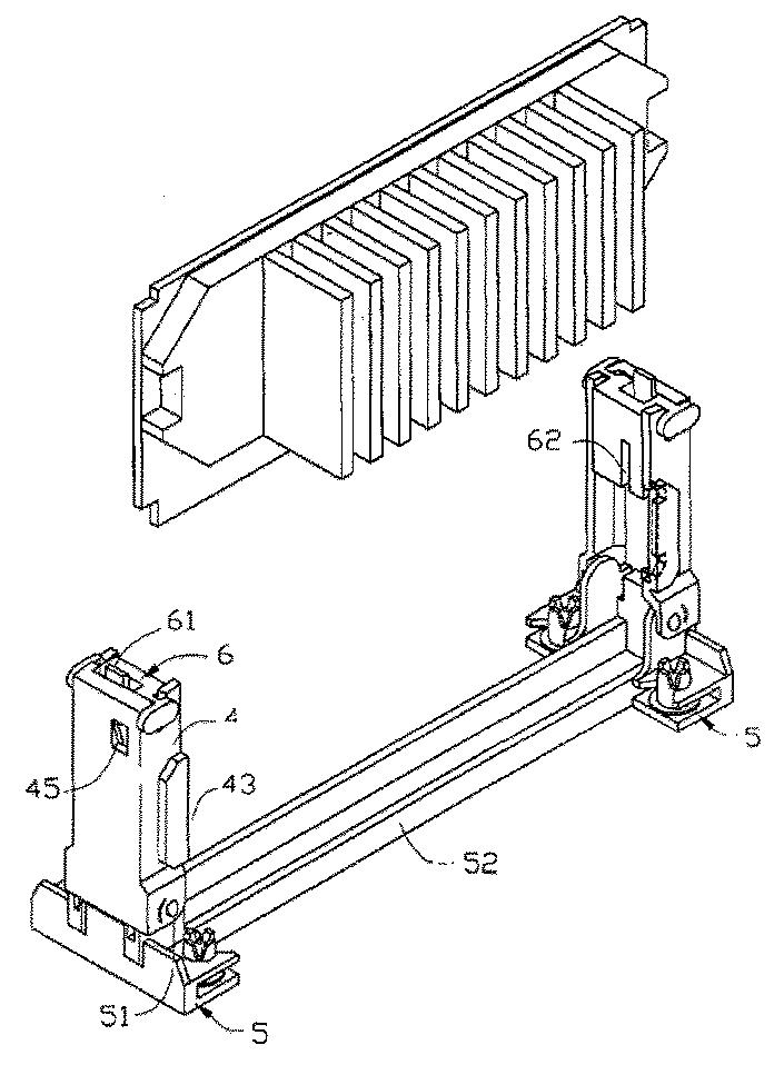
该夹持装置包括有基座,两侧臂及两卡扣部,其中两侧臂位于基座上,且于
图片尺寸705x958
圆柱物体夹紧装置手动卡扣细节
图片尺寸360x227
卡扣连接装置(2)-爱企查
图片尺寸384x848
一种便于安装的卡扣连接装置-爱企查
图片尺寸1748x1293
一种卡扣装置的制作方法
图片尺寸1000x890
电动葫芦吊钩保险卡扣保险卡2t10t5t3t加厚吊钩防脱装置
图片尺寸360x360