卡接机构

手持式管材切割机用切割片卡接锁紧机构
图片尺寸975x1000
卡位机构三维图
图片尺寸576x428
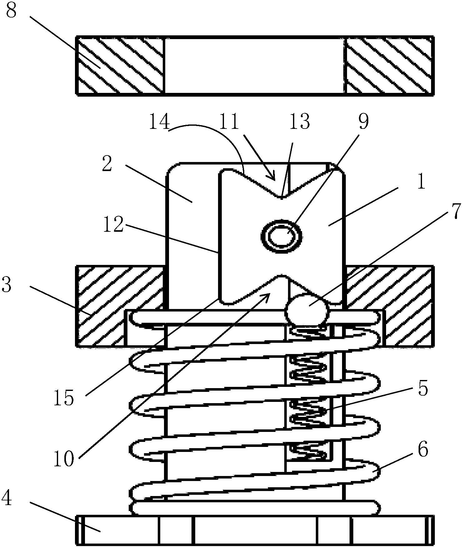
一种立车用工件自动卡紧机构的制作方法
图片尺寸1000x856
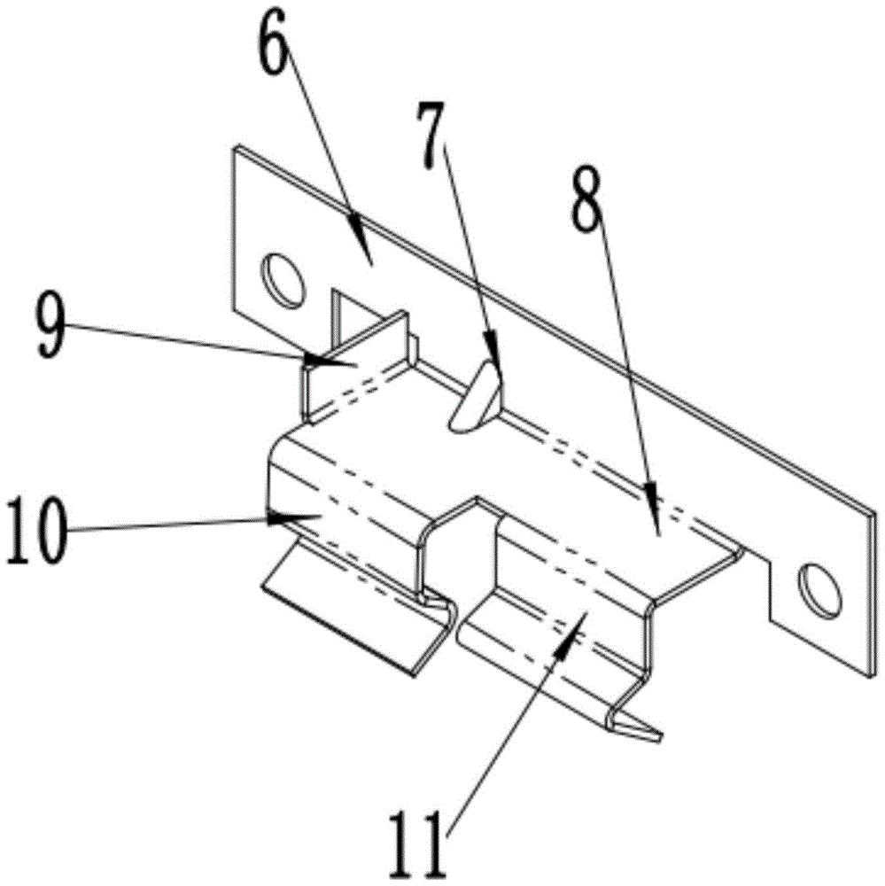
cn212804675u_一种钢筋混凝土水管组卡接机构
图片尺寸1732x681
本实用新型涉及一种连接机构,具体是一种用于天花板安装的卡接结构
图片尺寸999x1000
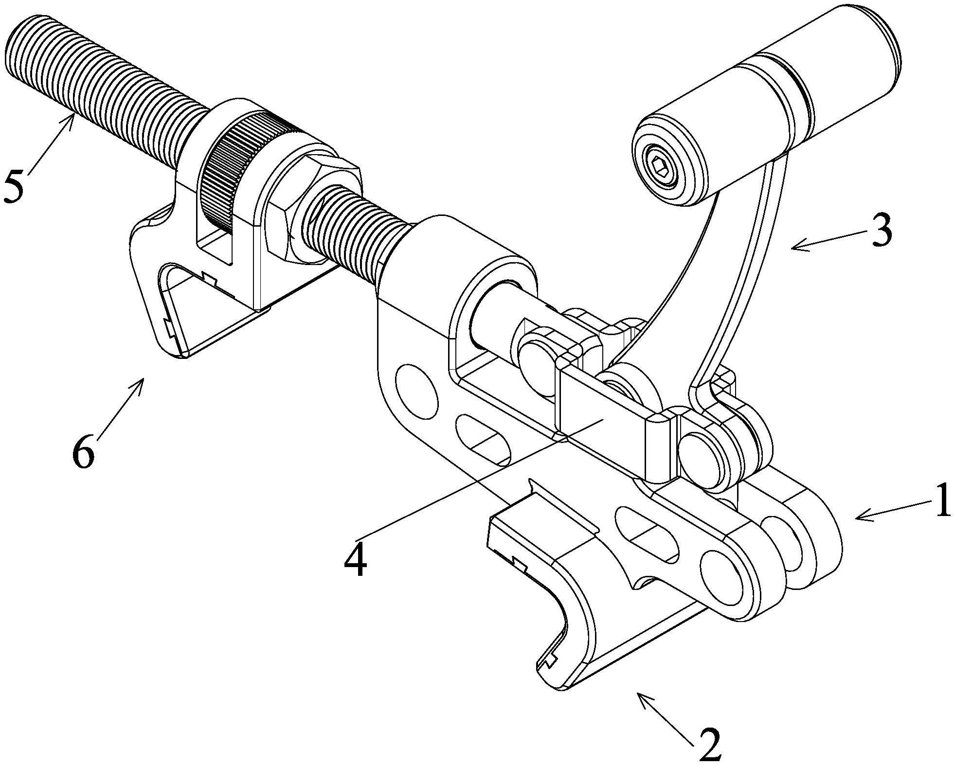
一种汽车排气系统焊接用推拉式法兰弹性夹紧机构技术方案
图片尺寸999x1000
卡勾机构组合图
图片尺寸642x654
卡扣连接机构制造技术
图片尺寸845x1000
一种铝合金模板墙柱模板安装用卡接固位机构
图片尺寸1923x941
一种轮椅附加前轮卡紧机构-爱企查
图片尺寸1963x1575
一种电机输出轴的卡接筋成型机构-爱企查
图片尺寸1459x1211
皮带接头卡扣连接机构的制作方法
图片尺寸1000x795
手持式管材切割机用切割片卡接锁紧机构的制作方法
图片尺寸982x1000
一种数控机床夹具浮动卡爪机构
图片尺寸1644x1401
一种弯管机用中空铝条卡接装置
图片尺寸461x363
卡扣连接机构的制作方法
图片尺寸865x1000
一种仪表卡接结构
图片尺寸1868x1447
cn107379825a_卡扣连接机构有效
图片尺寸1479x1749
一种智能门锁的锁杆卡接固定装置
图片尺寸1473x1066
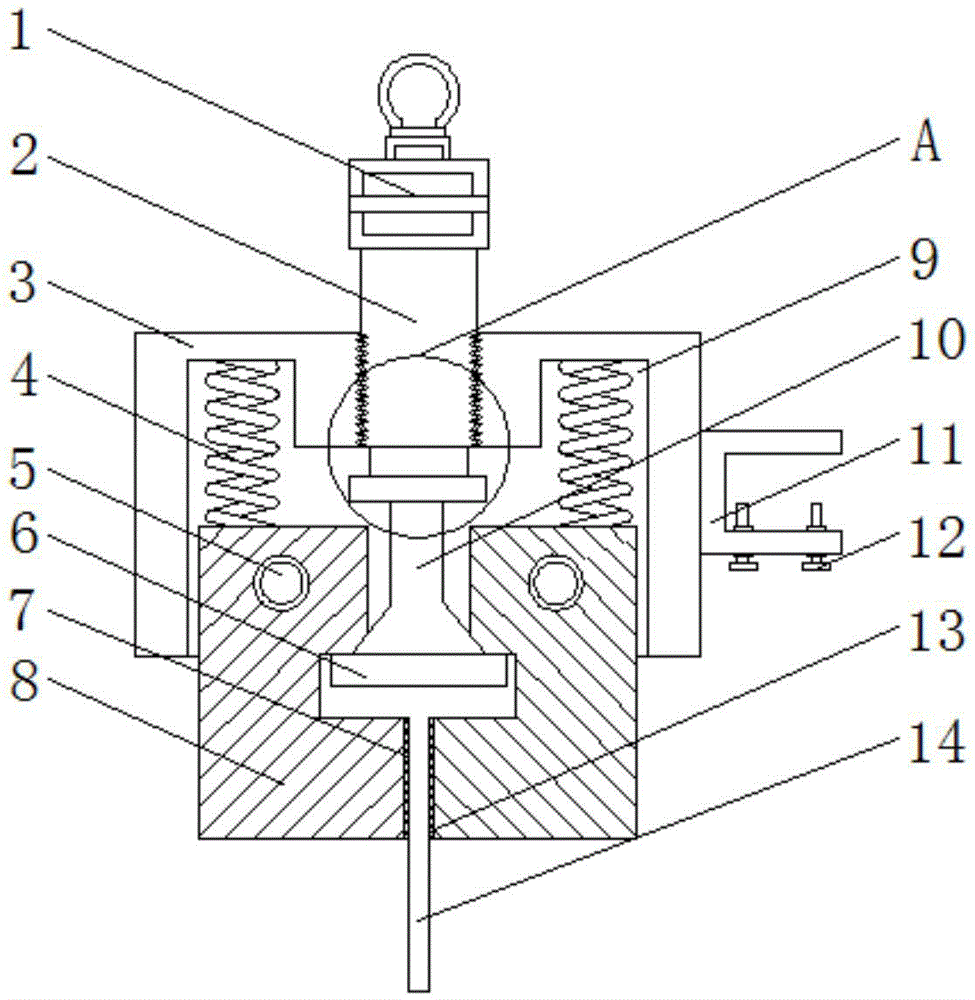
一种卡接机构及其电子设备的制作方法
图片尺寸1000x556