卡线槽结构

一种卡接式走线槽-爱企查
图片尺寸1011x978
一种卡接式母线槽的制作方法
图片尺寸1000x918
一种冰箱线束固定卡线槽的制作方法
图片尺寸494x589
一种密集型耐火母线槽
图片尺寸1338x956
一份弱电桥架/金属线槽安装大样图,cad格式
图片尺寸640x436
cn209426697u_一种带线束卡扣结构的线槽有效
图片尺寸1000x901
一种封闭结构环氧浇注母线槽-爱企查
图片尺寸800x737
多槽位光纤熔接卡槽结构制造技术
图片尺寸1000x806
一种具有防水防护结构的母线槽的制作方法
图片尺寸443x304
一种结构稳定的密集型母线槽
图片尺寸518x392
一种卡槽结构的制作方法
图片尺寸1000x729
一种分体式卡线结构-爱企查
图片尺寸1311x1169
一种带线束卡扣结构的线槽的制作方法
图片尺寸1000x905
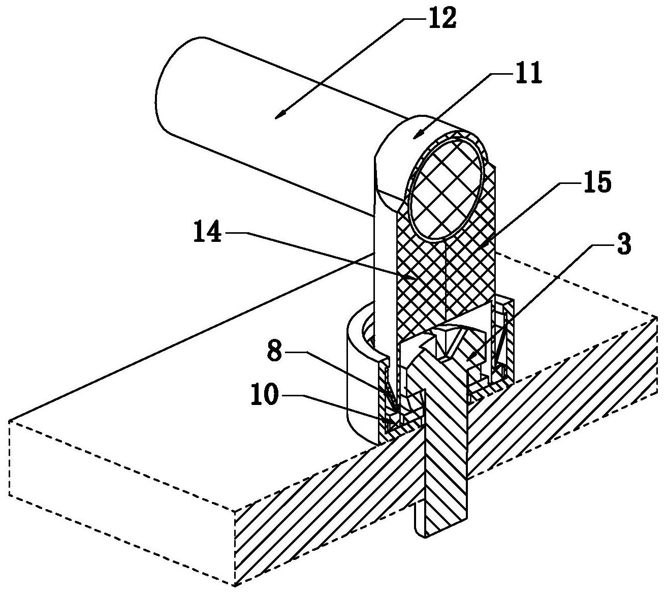
然而,一般的卡线槽结构为顶部朝外弯折的剖视呈u型的壳体,并
图片尺寸802x863
建筑施工中的母线槽安装方案
图片尺寸370x565
一种线管或线槽卡扣件 本技术属于建筑装饰 ,具体涉及一种结构
图片尺寸505x436
一种线槽电缆卡的制作方法
图片尺寸831x1000
一种卡槽结构制造技术
图片尺寸1000x762
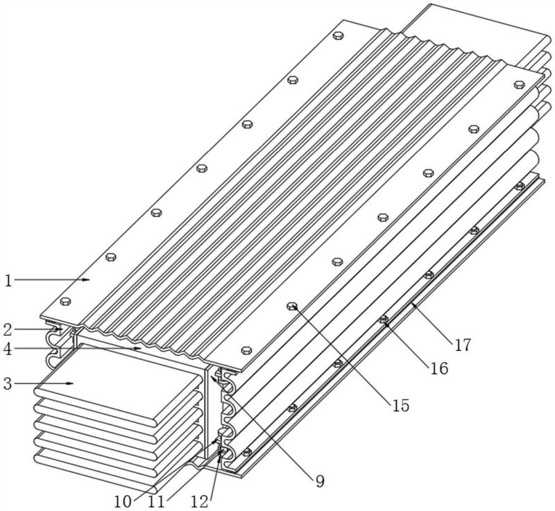
种封闭的金属装置,用来为分散系统各个元件分配较大功率,具有结构简单
图片尺寸1000x716
一种灯罩与线槽配合的卡扣结构 - cn201621112799.
图片尺寸610x552