卢德旺

政权稳定,政府有志气
图片尺寸500x333
独家专访卢旺达总统:中美都是卢旺达好朋友
图片尺寸400x322
中国长城无处不在 八达岭创建"个性化名片"
图片尺寸500x334
卢德旺书法作品价钱
图片尺寸800x320
江口县委常委宣传部长田仁军到德旺乡督导扫黑除恶专项斗争工作
图片尺寸5000x3333
失信于人曝光你快来看看有没有你认识的人
图片尺寸301x366
卢国旺
图片尺寸881x1571
德旺商学院
图片尺寸550x406
执行标的:21503元442528196105160014身份证号码:被执行人姓名:卢德旺
图片尺寸253x307
杜奎到德旺乡清溪村督查脱贫攻坚工作
图片尺寸600x450
"津和情-大美和田美术书法摄影展"在天津美术馆开幕
图片尺寸800x534
谪去君无恨 孔德旺 作品
图片尺寸400x392
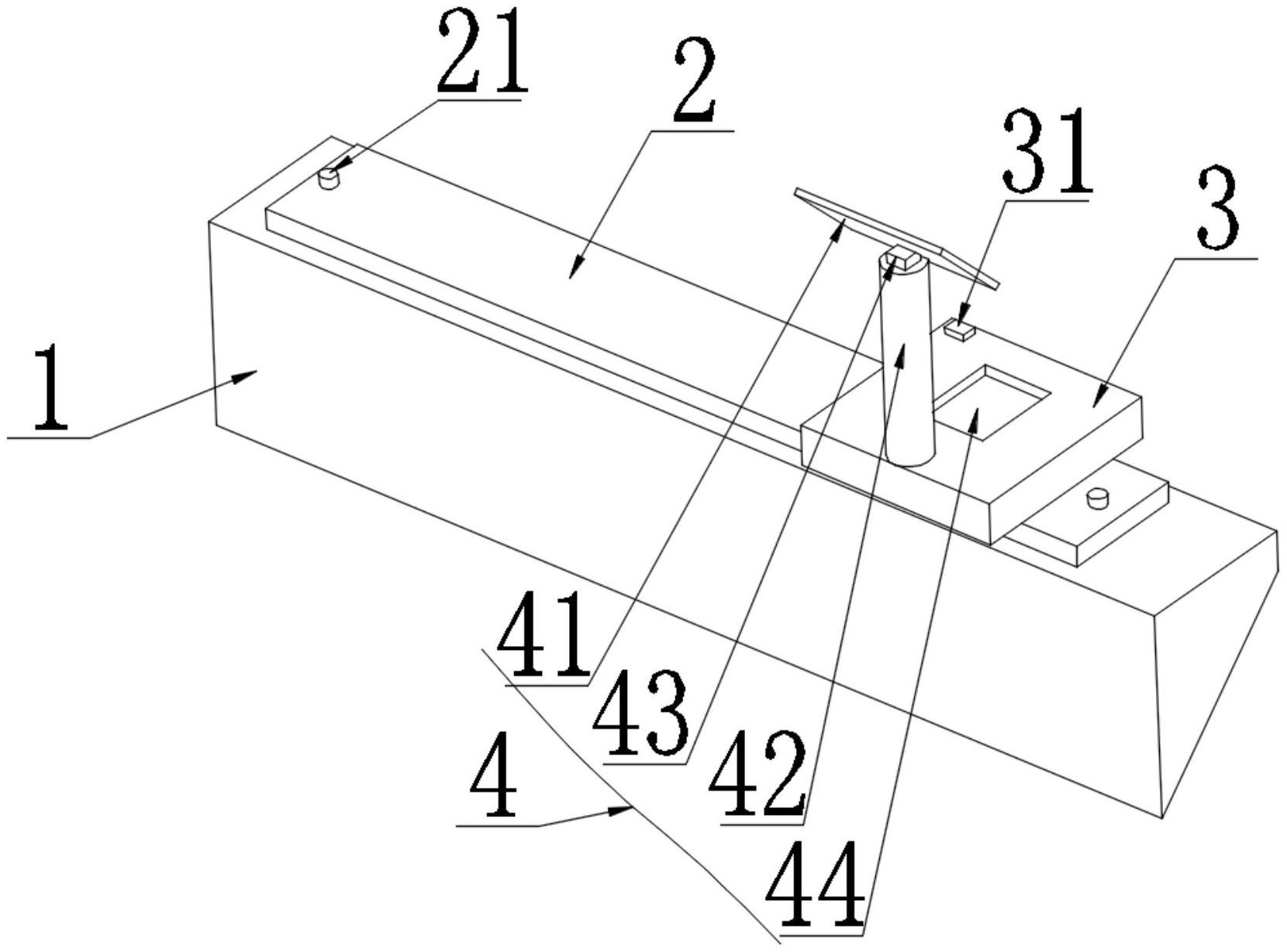
cn212154090u_一种坡屋面施工防护装置有效
图片尺寸1660x1229
卢德旺国庆长假去万绿园
图片尺寸681x907
标的:21503元442528196105160014身份证号码:被执行人姓名:卢德旺案号
图片尺寸251x304
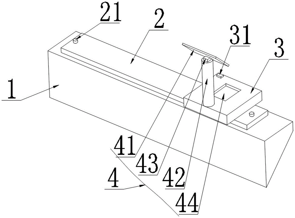
cn212154090u_一种坡屋面施工防护装置有效
图片尺寸1000x740
报名的意义何在?这篇扫盲贴给你说清楚!(附往年慧学6试题下载!
图片尺寸565x489
"有了这个想法后,张斌和卢德旺马上同贡山县文旅局沟通,双方的想法不
图片尺寸1080x810
吴花娇家庭,8口人,110平方.卢德旺家庭卢德旺家庭,7口人,120平方.
图片尺寸660x375
卢德旺家庭,7口人,120平方.郑行福家庭郑行福家庭,6口人,100平方.
图片尺寸660x1415