卧式加工中心结构图

mh-630卧式加工中心
图片尺寸611x710
双主轴双工作台卧式加工中心的制作方法
图片尺寸1000x863
一种卧式五轴加工中心
图片尺寸1576x1736
一种卧式摇篮结构五轴复合加工中心的制作方法
图片尺寸1000x976
台湾精研精工500/630卧式加工中心结构特色,联系136-0194-2629.
图片尺寸571x417
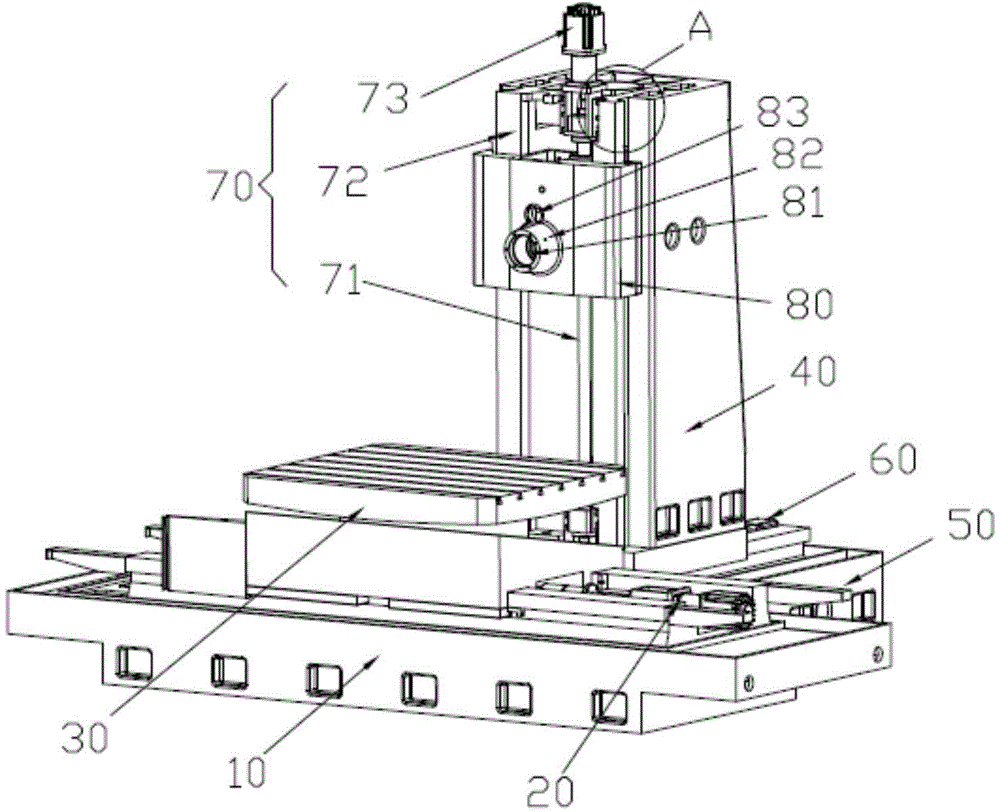
一种卧式四轴连动加工中心
图片尺寸1000x812
卧式加工中心
图片尺寸600x482
动柱式卧式加工中心结构设计
图片尺寸600x482
加工中心结构图
图片尺寸550x506
卧式加工中心床身结构的有限元分析
图片尺寸764x637
背景技术:卧式五轴加工中心为两个旋转轴都在主轴端的双摆头结构或
图片尺寸1000x872
双主轴卧式加工中心的制作方法
图片尺寸1000x727
带凸轮式刀库的卧式加工中心制造技术,atc刀库凸轮箱结构图专利_技高
图片尺寸719x1000
一种正t结构的卧式加工中心
图片尺寸443x433
加工中心通道号的使用美图集结号卧式加工中心结构图
图片尺寸608x661
动柱式卧式加工中心结构设计
图片尺寸559x449
捷克飞马特fermat高精度高速重切削数控刨台卧式镗铣床加工中心机
图片尺寸276x229
动立柱结构卧式加工中心有哪些
图片尺寸543x527
单工作台卧式4轴加工中心
图片尺寸572x605
cnc加工中心结构图
图片尺寸720x533