卧式止回阀安装图

给排水止回阀安装注意事项
图片尺寸810x395
止回阀应该安装在什么位置
图片尺寸706x381
卧式止回阀
图片尺寸388x305
对夹式止回阀安装示意图
图片尺寸600x449
止回阀结构止回阀规格型号尺寸表,卧式止回阀结构图,阀门结构,单向
图片尺寸369x289
给排水止回阀安装注意事项
图片尺寸452x227
谦设不锈钢止回阀304单向阀逆止阀水管旋启式卧式止回阀回水阀4分h14w
图片尺寸1500x1356
不锈钢止回阀304单向阀逆止阀水管旋启式卧式止回阀回水阀4分h14w 304
图片尺寸990x1533
铜卧式止回阀尺寸
图片尺寸463x238
黄铜卧式止回阀 h14h-16t
图片尺寸853x448
图3-8 卧式升降止回阀和立式升降止回阀
图片尺寸523x231
4分卧式止回阀(中厚)【图片 价格 品牌 报价】-京东
图片尺寸790x1105
厂家直销 不锈钢304内螺纹旋启式止回阀 丝扣卧式止回阀
图片尺寸270x369
离心泵出口止回阀的作用与选型_安装
图片尺寸690x452
鄂尔多斯橡胶瓣止回阀安装-河北阔奕机械设备有限公司
图片尺寸750x286
卧式止回阀
图片尺寸1000x963
详细解析止回阀的施工安装要点
图片尺寸526x403
drvz供应静音式止回阀
图片尺寸489x190
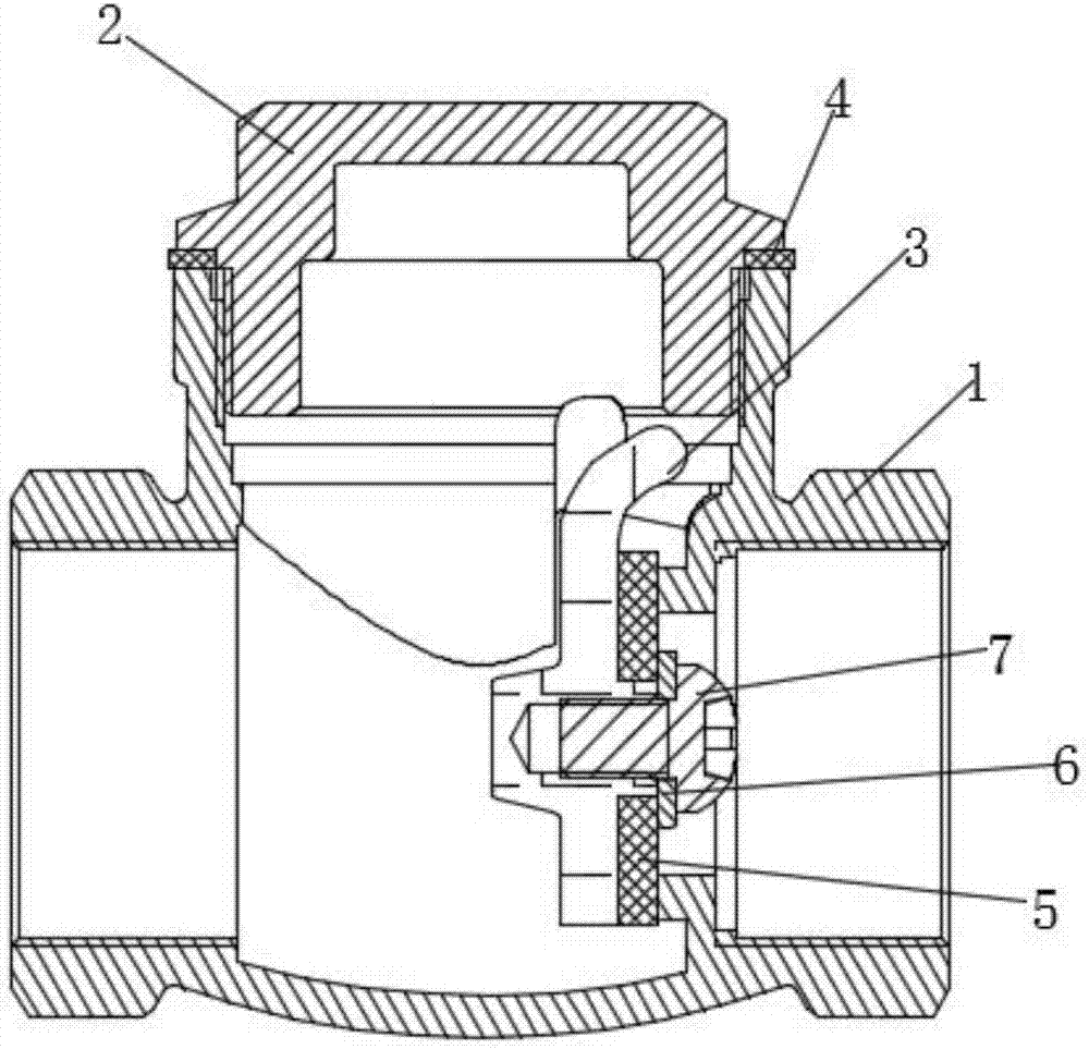
一种焊接卧式止回阀制造技术
图片尺寸1000x940
卧式止回阀 黄铜单向阀止逆阀水泵水管止水阀不锈钢 4分6分1寸 dn40
图片尺寸790x639