卧式热风炉结构图

热风炉的构造 自制燃煤热风炉结构图-图片大观-奇异网
图片尺寸1760x2240
帮你轻松搞懂卧式燃气热风炉工作原理
图片尺寸604x494
多功能卧式热风炉制造技术
图片尺寸1000x958
wrf系列卧式燃煤热风炉
图片尺寸700x438
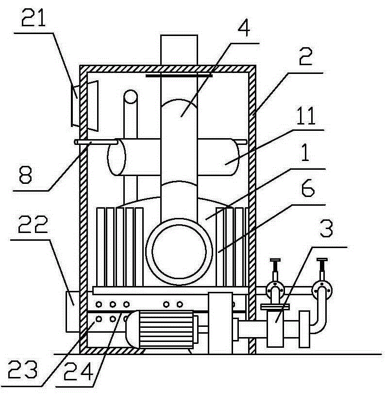
一种卧式燃生物质纯净风热风炉的制作方法
图片尺寸363x214
几种常用热风炉的结构与特点分析
图片尺寸480x444
热水锅炉 100万大卡全自动卧式燃油气常压
图片尺寸609x550
云南昆明烤烟烘干热风炉果蔬烘干热风炉生物质颗粒热风炉
图片尺寸1000x386
高炉热风炉,高炉热风炉百科
图片尺寸500x401
几种常用热风炉的结构与特点分析
图片尺寸495x389
cn87216988u_金属体燃煤两回程间接加热热风炉失效
图片尺寸1760x2240
一种多介质燃料通用热风炉
图片尺寸2475x1475
cdzl卧式燃煤热水锅炉
图片尺寸1169x717
几种常用热风炉的结构与特点分析
图片尺寸481x446
卧式燃煤蒸汽锅炉
图片尺寸798x445
设置有热风出口,外壳的下端设置有进风口,所述炉体具有夹层结构的炉壁
图片尺寸793x810
一种多孔陶瓷介质燃烧卧式内燃蒸汽锅炉的制作方法
图片尺寸594x388
燃煤热风炉
图片尺寸450x165
燃气热风炉的结构组成
图片尺寸566x307
全自动工业烘干采暖多功能燃煤卧式热风炉
图片尺寸600x550