卷圆机构造

卓仕坤定制小型手动卷板机电动钢筋卷圆机铁皮不锈钢扁铁滚圆机探头
图片尺寸800x800
液压两辊卷圆机-爱企查
图片尺寸1930x1369
卷圆机 w11系列三辊卷板机 机械卷圆机威力达厂家现货供应
图片尺寸640x480
保温卷圆机,手摇卷板机,电动保温滚圆机,保温轧边机,金属板材 - 抖音
图片尺寸3456x4608
槽钢卷圆机 槽钢弯弧卷圆一体机,槽钢 - 抖音
图片尺寸828x1472
电热片卷圆机-爱企查
图片尺寸1848x2552
保温卷圆机,手摇卷板机,电动保温滚圆机,保温轧边机,手动压边 - 抖音
图片尺寸1440x1920
角钢卷圆机是一种用于加工角钢的机械设备,角钢弯圆机,操作简单,成型
图片尺寸2160x1350
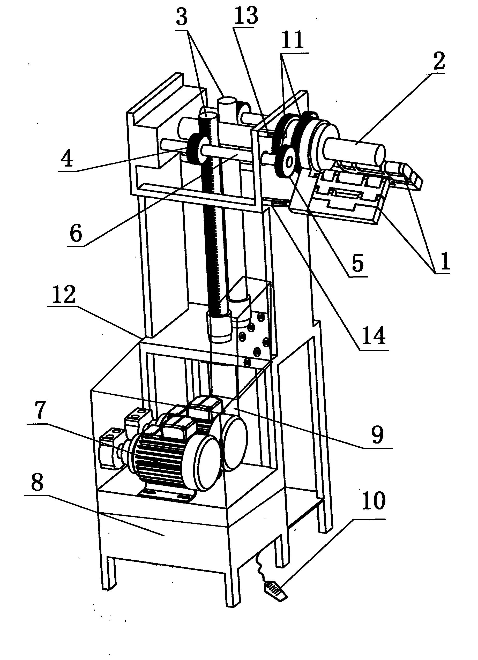
一种卷圆机构的制作方法
图片尺寸1793x1178
手动卷板机手动卷圆机胶轴不划板厂家订做圆管电动弯管机手动钢筋圈圆
图片尺寸750x750
3毫米钢板卷锥机大小头椎筒卷圆机锥形卷板机
图片尺寸2160x1620
保温卷圆机,手摇卷板机, - 抖音
图片尺寸750x750
多功能卷圆机卷制10号槽钢过程.
图片尺寸2160x1620
厂家直销w11s系列上辊万能式卷板机 南通重型液压卷板机卷圆机
图片尺寸750x802
新式三辊卷圆机卷制直径五公分的圆筒.
图片尺寸2160x1620
电动三辊卷圆机设计
图片尺寸637x521
一种自动卷圆机的卷圆机构的制作方法
图片尺寸572x450
一种同步卷圆机
图片尺寸1673x1524
一种钣金折弯件的卷圆机的制作方法
图片尺寸443x385
小型卷圆机厂家直销,价格优惠.操作简便,减少人工劳动强度.卷 - 抖音
图片尺寸2245x1587