卷帘门锁结构图

电动卷帘门结构图和工作方式详解
图片尺寸640x652
一种卷帘门防盗锁制造技术
图片尺寸1000x983
一种卷帘门门锁制造技术
图片尺寸557x1000
一种卷帘门防盗电插锁
图片尺寸865x1000
玥玛卷闸门锁防盗卷帘门锁中间门锁闸门地锁超b级锁芯正品包邮
图片尺寸790x434
门锁的结构图及组成
图片尺寸461x401
国际认可|名门静音锁体斜舌缓冲结构荣获美国发明专利证书!-智能锁网
图片尺寸640x1137
卷帘门用双面门锁
图片尺寸955x400
卷闸门又称为"卷帘门",是以很多关节活动的门片串联在一起,在固定的
图片尺寸444x293
一种用于卷闸门的闸锁安装结构的制作方法
图片尺寸1000x620
安得福 薄幸卷帘门锁 月牙锁芯 电脑锁芯 卷闸门锁具配件 五金件
图片尺寸750x492
一种智能型卷闸门锁
图片尺寸1562x907
卷帘门结构图
图片尺寸650x426
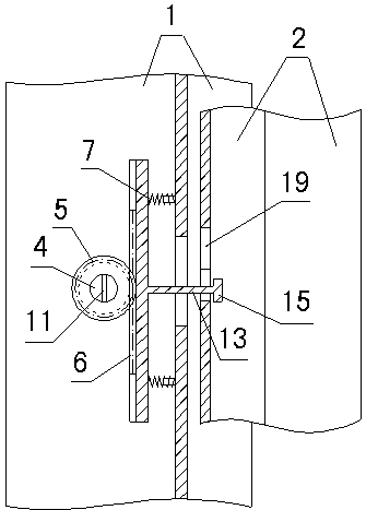
cn208168558u_一种对开式卷帘门门锁结构有效
图片尺寸335x467
cn2583298y_卷闸门安全锁失效
图片尺寸800x971
电动卷帘门内部结构图
图片尺寸518x674
一种卷帘门内门防盗锁装置的制作方法
图片尺寸1429x1375
拉闸门锁卷闸门锁十字一字防盗门锁中腰防撬锁卷帘门锁通用月牙锁
图片尺寸800x982
银行卷帘门结构示意图
图片尺寸500x375
cn2802005y_门锁内置式卷帘门门锁机构失效
图片尺寸1417x1191