卷膜机构

吹膜机的主要三大结构
图片尺寸949x568
卷料机构
图片尺寸820x632
ro膜自动卷膜机_苏州富加林自动化科技有限公司,非标
图片尺寸1329x807
【新型顶部卷膜器 韩式手动链条式卷帘机 温室大棚】
图片尺寸780x780
大棚卷膜器手动卷帘机温室配件养殖蔬菜侧卷顶卷涡轮
图片尺寸990x1320
卷膜供料机整体反面视图分享图纸,沐风十六周年,十万
图片尺寸441x444
大棚卷膜器
图片尺寸1440x1080
卷膜供料机卷膜安装机构
图片尺寸698x600
卷膜机包括机架,用于支撑淡水网卷并对淡水网卷进行放卷的放卷机构
图片尺寸1000x710
膜卷起重机
图片尺寸655x685
电动卷膜器,电动卷膜器供应商,电动卷膜器哪家好
图片尺寸500x375
卷膜机构
图片尺寸612x526
一种吹膜机自动换卷装置
图片尺寸1531x1103
卷膜机构
图片尺寸397x444
布料卷膜机的行走机构-爱企查
图片尺寸1936x1688
收膜卷料结构
图片尺寸776x613
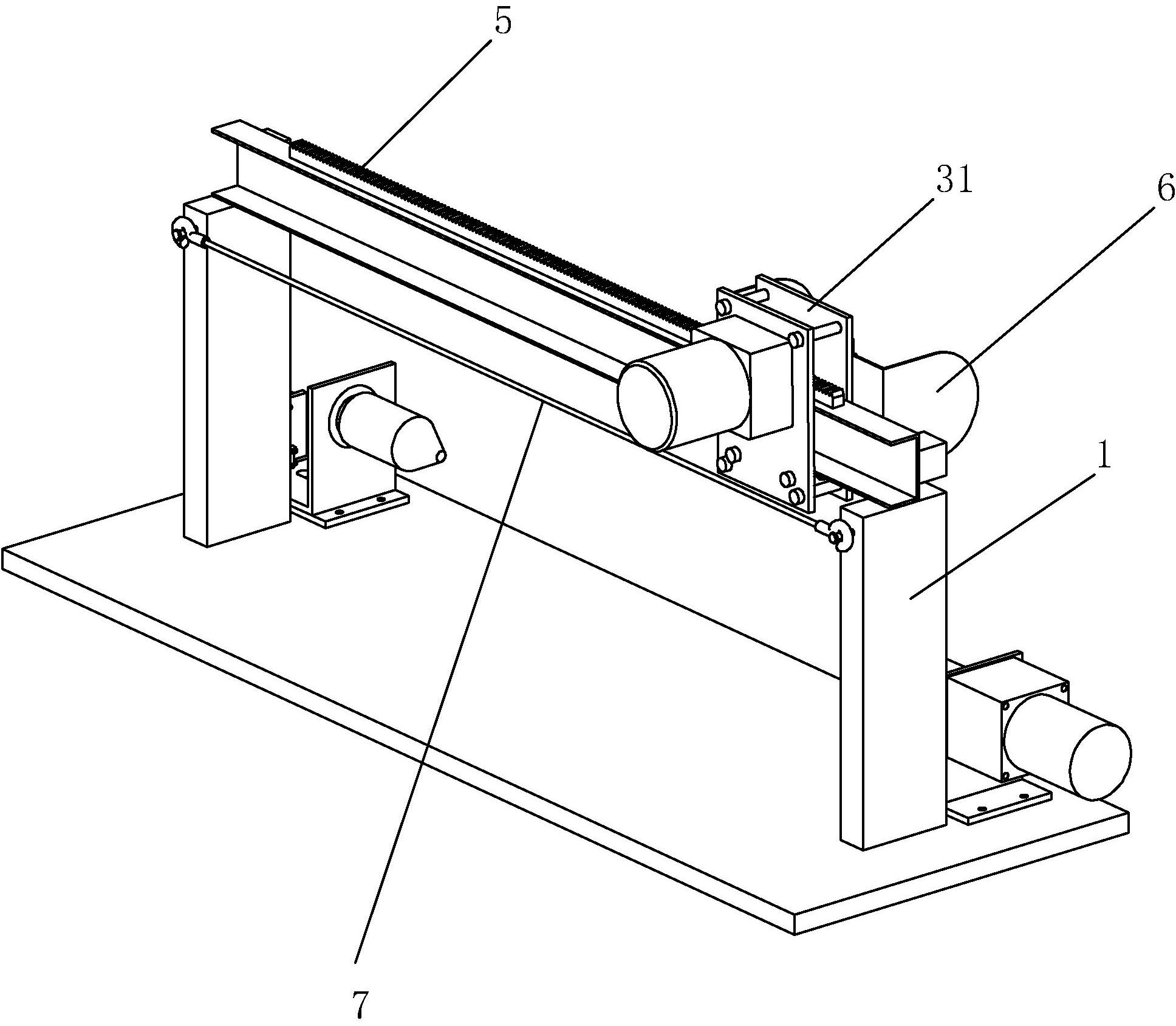
纵封拉膜机构三维图
图片尺寸609x769
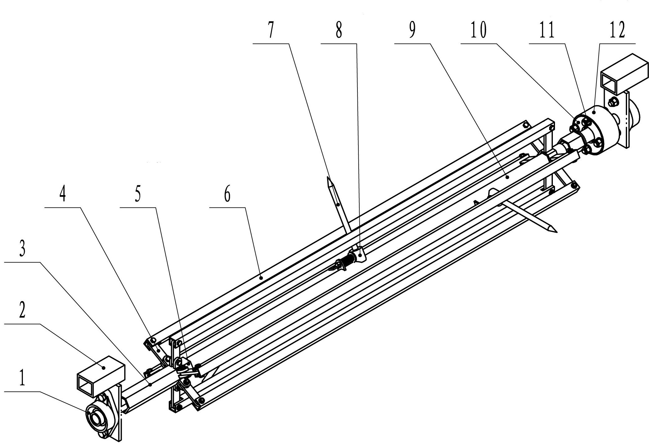
cn112020917a_一种带弹压镶嵌锁销的绕齿式卷膜机构在审
图片尺寸2099x1436
大棚手动卷膜器
图片尺寸750x562
卷膜机构模型
图片尺寸820x317