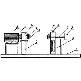
卷锥装置示意图

一种卷板机的卷锥装置-爱企查
图片尺寸799x753
cn2770942y_压出线卷取顶锥装置失效
图片尺寸1417x637
换锥装置及方法 - cn201610776519.
图片尺寸1000x791
一种锥筒卷制设备的制作方法
图片尺寸1000x774
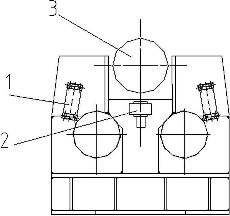
辊式卷板机卷锥筒装置-爱企查
图片尺寸4640x4071
一种分离存放交通锥的装置的制作方法
图片尺寸1000x496
zzy08液压卷锥机
图片尺寸820x583
可调角度镗削锥孔锥螺纹的装置
图片尺寸2368x1984
数控机床镗锥孔装置
图片尺寸1339x2023
一种双锥真空干燥机的破碎装置的制作方法
图片尺寸908x1000
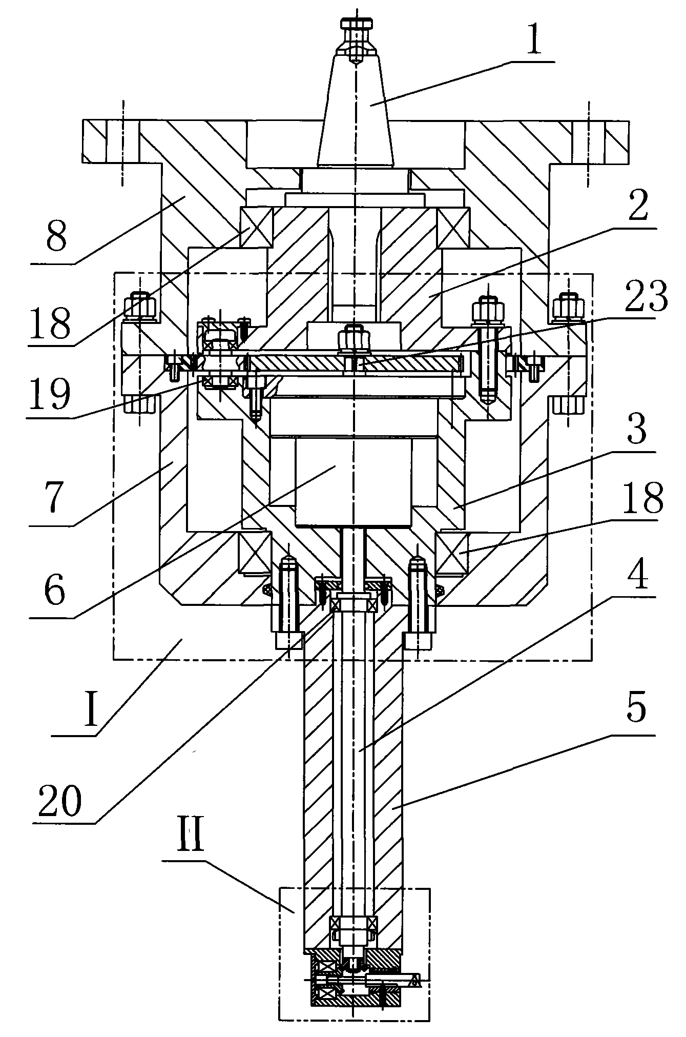
复合版辊收卷顶锥装置制造方法及图纸
图片尺寸1000x646
一种用于小模数弧齿锥齿轮铣刀刃磨机的对刀装置的制作方法
图片尺寸691x1000
卷接机锥鼓轮调头装置的制作方法
图片尺寸1000x857
厚壁卷制国标锥型管接头,众信锥形管件,淮南国标锥型管
图片尺寸525x700
漆包线锥顶卷线装置-爱企查
图片尺寸260x260
卷锥桶设备
图片尺寸509x388
卷锥桶设备
图片尺寸530x580
cn101382578a_不同电缆截面橡胶应力锥质量检测装置有效
图片尺寸2747x740
装置示意图
图片尺寸206x220
尤其是当设备出现过铁时,不仅会引起弹簧保险装置失效,还会引起动锥体
图片尺寸600x400