卸料器的结构

星型卸料器结构图
图片尺寸1280x960
2. 星型卸料器结构总图
图片尺寸1920x743
星型卸料器的结构图
图片尺寸649x392
犁式卸料器主要结构
图片尺寸700x500
电液动犁式卸料器
图片尺寸808x437
星型卸料器
图片尺寸650x256
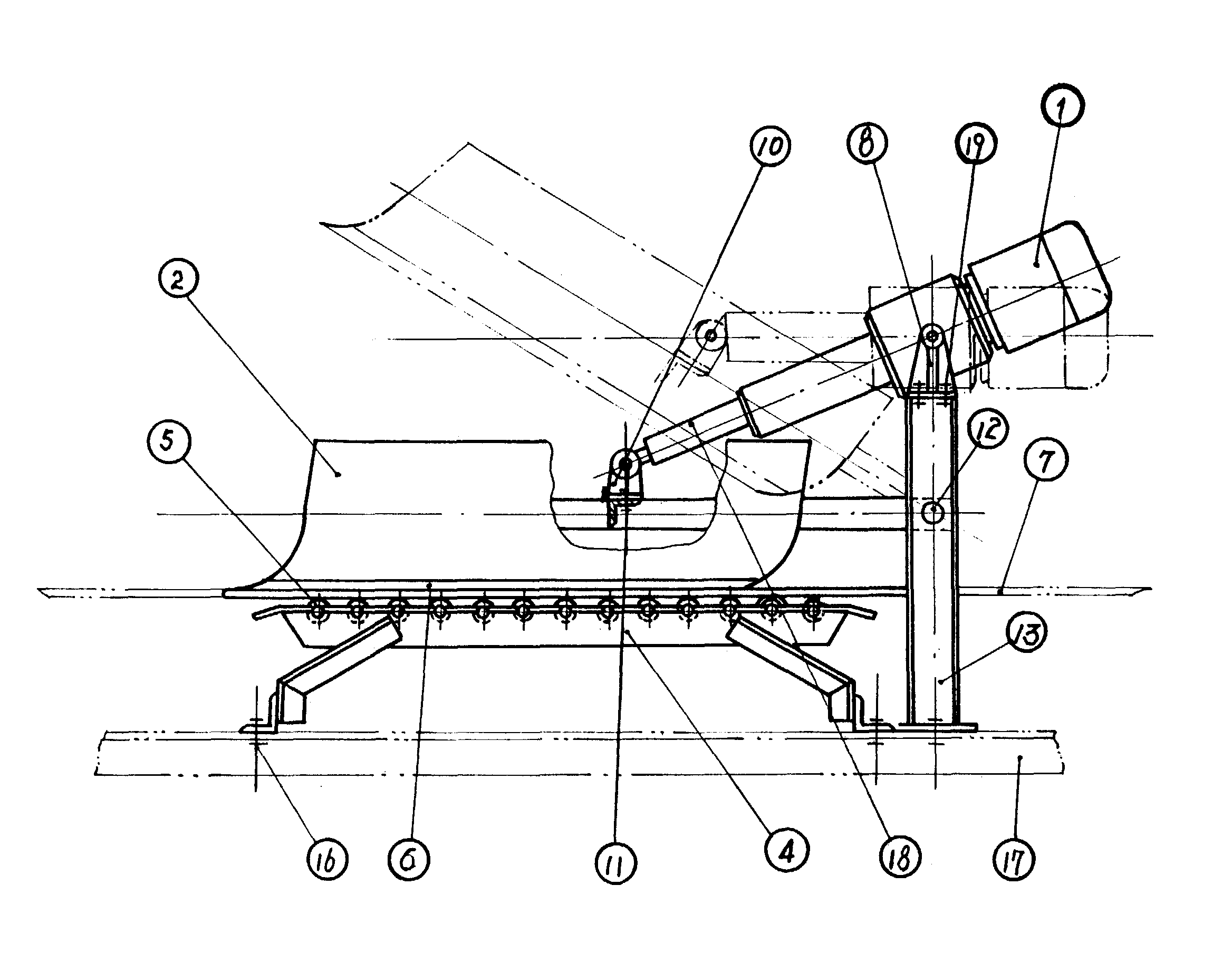
带式输送机自压式单双侧犁式卸料器
图片尺寸2336x1824
星型卸料器技术参数星型卸料器型号参数
图片尺寸634x433
三角箱卸料器,有熟悉这个东西的吗?
图片尺寸898x680
设备卸料的主要设备,它适用于粉状物料和颗料状物料,卸料器的结构紧凑
图片尺寸1000x471
星型卸料器-yjd-hg型
图片尺寸463x252
三种可向双带式输送机卸料的移动料斗
图片尺寸650x860
电液动犁式卸料器
图片尺寸750x750
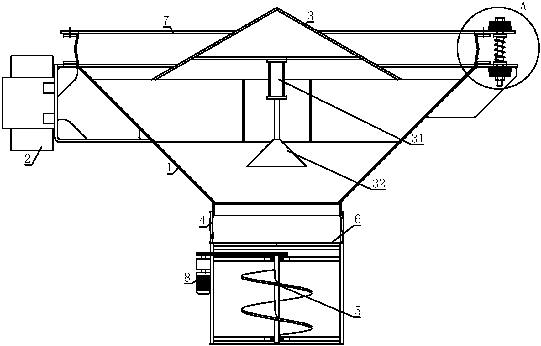
cn109279208a_一种避免关闸后卸料斗内物料板结的振动仓底卸料器在审
图片尺寸1726x1104
弘创直销最好最优质dyn型犁煤器 丨犁式卸料器
图片尺寸1075x1520
星型卸料器图纸讲解
图片尺寸564x398
小颗粒星型卸灰阀 方口 圆口 星型卸料器 叶轮给料机
图片尺寸400x300
弘创直销最好最优质dyn型犁煤器 丨犁式卸料器
图片尺寸1075x1520
厂价直销扬州烨航供应电液动犁式卸料器 dynt型
图片尺寸1920x1698
y j d-e , f ( ycd-hg , gw-b )系列卸料器安装尺寸与技术特性表
图片尺寸800x420