卸料平台结构图

求助卸料平台设计图纸
图片尺寸550x509
卸料平台示意图.docx 8页
图片尺寸860x1218![[重庆]新闻传媒中心一期工程卸料平台施工方案(悬挑式)-主体结构-筑龙](https://i.ecywang.com/upload/1/img0.baidu.com/it/u=1927906703,3638828999&fm=253&fmt=auto&app=138&f=JPG?w=500&h=254)
[重庆]新闻传媒中心一期工程卸料平台施工方案(悬挑式)-主体结构-筑龙
图片尺寸980x497
安置房项目卸料平台施工方案
图片尺寸588x692
卸料平台示意图.docx 8页
图片尺寸860x1218
引用 卸料平台示意图
图片尺寸750x456
卸料平台标准化要求
图片尺寸668x940
佛山高层建筑悬挑卸料平台施工方案
图片尺寸648x440
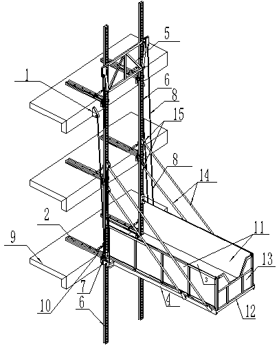
一种附着式升降卸料平台
图片尺寸406x507
卸料平台标准化要求
图片尺寸677x956
装配式自控滑移提升建筑施工卸料平台
图片尺寸1913x1775
卸料平台示意图
图片尺寸920x1302
卸料平台大样
图片尺寸737x585
外挂式卸料平台,包括平台,立柱,斜拉杆,立柱顶端横向梁及平台围护结构
图片尺寸1708x1140
一种建筑施工用卸料平台的制作方法
图片尺寸438x444
卸料平台侧立面图.png
图片尺寸758x639
旅居项目卸料平台安全专项方案-主体结构-筑龙建筑施工论坛
图片尺寸754x435
卸料平台示意图
图片尺寸766x560
钢管落地式卸料平台,包括垫板,立杆,其特征在于:结构板面上设置有垫板
图片尺寸585x577
悬挑卸料平台节点设计详图
图片尺寸610x861