卸荷槽

gear pump
图片尺寸1280x1203
液压传动2022智慧树满分答案
图片尺寸373x302
液体槽罐车卸车规程
图片尺寸2667x2000
玻璃钢储槽
图片尺寸591x443
段的直径差异来降低,如果不能减少,加个图中的应力卸荷槽也是一种方案
图片尺寸640x408
齿轮泵压力卸荷槽及轴向泄漏图片
图片尺寸537x556
液体槽罐车卸车规程
图片尺寸2000x2667
崇义电解槽大余pp电镀槽信丰萃取槽龙南过滤槽酸洗槽定制
图片尺寸1440x1080
求齿轮泵油槽和卸荷槽图片,,,_360问答
图片尺寸620x399
为何力士乐齿轮泵虽能上油但输出流量不够
图片尺寸380x250![[分享]卸荷施工方案资料下载](https://i.ecywang.com/upload/1/img0.baidu.com/it/u=730419655,2844852680&fm=253&fmt=auto&app=138&f=JPEG?w=500&h=666)
[分享]卸荷施工方案资料下载
图片尺寸760x1013
溜槽矿用
图片尺寸750x750
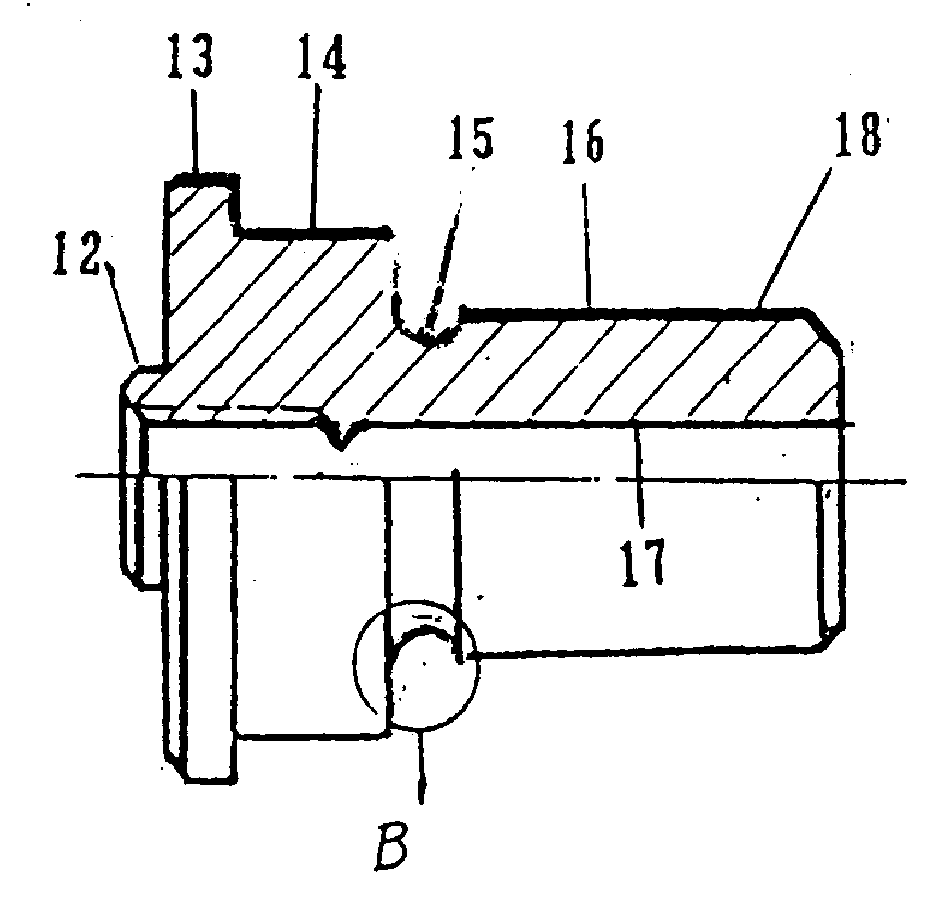
一种电动转辙机用的挤切销,其结构包括台肩部分,大,小圆柱体和卸荷槽
图片尺寸936x906
液体槽罐车卸车规程
图片尺寸2000x2667
山东泽荣车轴卸荷槽或轴颈根部锈蚀深度测量仪数显
图片尺寸460x306
齿轮泵压力卸荷槽及轴向泄漏图片
图片尺寸446x504
一,滚动轴承车轴
图片尺寸620x375
进料槽 卸料槽 中间槽 **价格
图片尺寸400x350
压力平衡槽-将高压液体引入低压齿间,低压液体引入高压齿间;b.
图片尺寸348x397
yjd-a星型卸料装置价格优惠 方口卸料器型号规格60种由卸料器厂家直供
图片尺寸1024x707