压力平衡装置

平衡 压力 比例 混合 装置
图片尺寸600x546
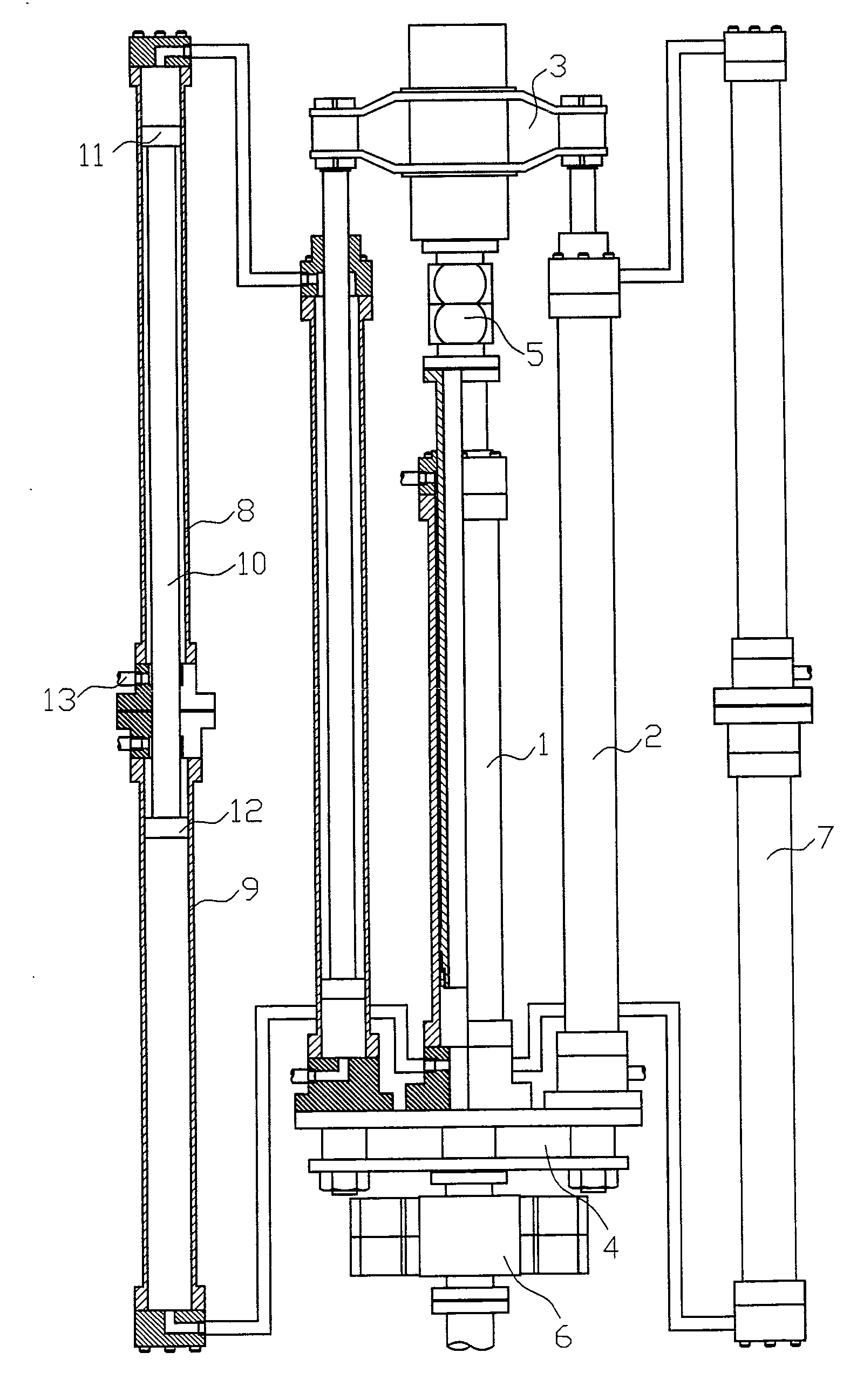
压力平衡式静密封带压修井作业装置
图片尺寸1588x2593
压力平衡式泡沫比例混合装置
图片尺寸750x750
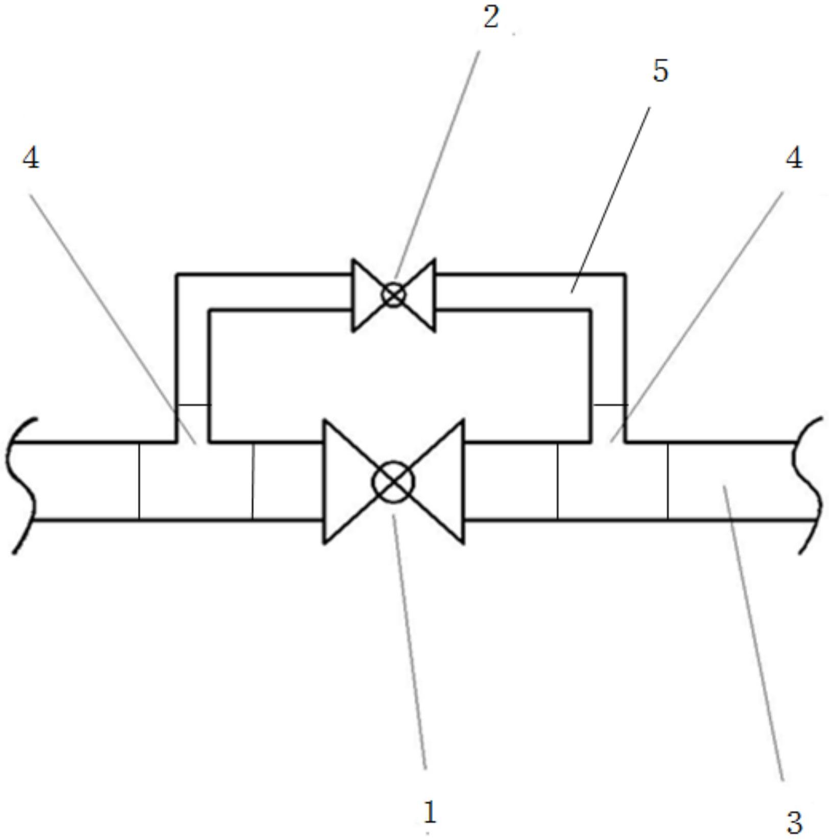
内外压平衡补偿器 旁通式压力平衡补偿器 直管压力平衡补偿器
图片尺寸1152x720
一种潜水泵电机用的压力平衡装置-爱企查
图片尺寸1920x1323
自力式压力调节阀_其它行业_阀门_平衡阀_产品库_中国物流设备网
图片尺寸960x1280
平衡压力式比例混合装置
图片尺寸600x507
一种化工机械安全装置,主要用于平衡腔内气体或液体的压力值
图片尺寸1289x1051
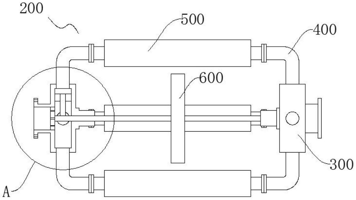
一种pe球阀压力平衡装置
图片尺寸1623x1645
产品名称:直管压力平衡波纹补偿器
图片尺寸800x600
一种高速压力机的动平衡装置-爱企查
图片尺寸572x800
一种超低温冷冻机用压力平衡装置的制作方法
图片尺寸1000x574
曲管压力平衡式波纹补偿器
图片尺寸500x378
cn207500149u_一种充油式潜污泵的机械密封压力平衡装置有效
图片尺寸480x618
塔城平衡压力比例混合装置国家标准
图片尺寸400x394
平衡压力式泡沫比例混合装置
图片尺寸542x960
dn3500直管压力平衡波纹补偿器
图片尺寸450x450
一种用于燃气发动机的压力平衡装置
图片尺寸442x444
一种工业水处理设备用压力平衡装置
图片尺寸1209x678
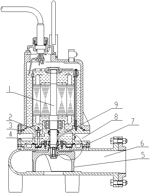
一种配药压力平衡装置的制造方法
图片尺寸452x616