压差表原理

爱采购首页 商品专题_仪表薄膜执行机构 end 焓差实验室设备及原理
图片尺寸442x306
差压表规格差压表差压计压差表压差计
图片尺寸532x2522
压力表的基本知识ppt
图片尺寸1080x810
上自仪四厂cyw152b不锈钢差压表
图片尺寸1187x839
五,原理安装示意图
图片尺寸609x313
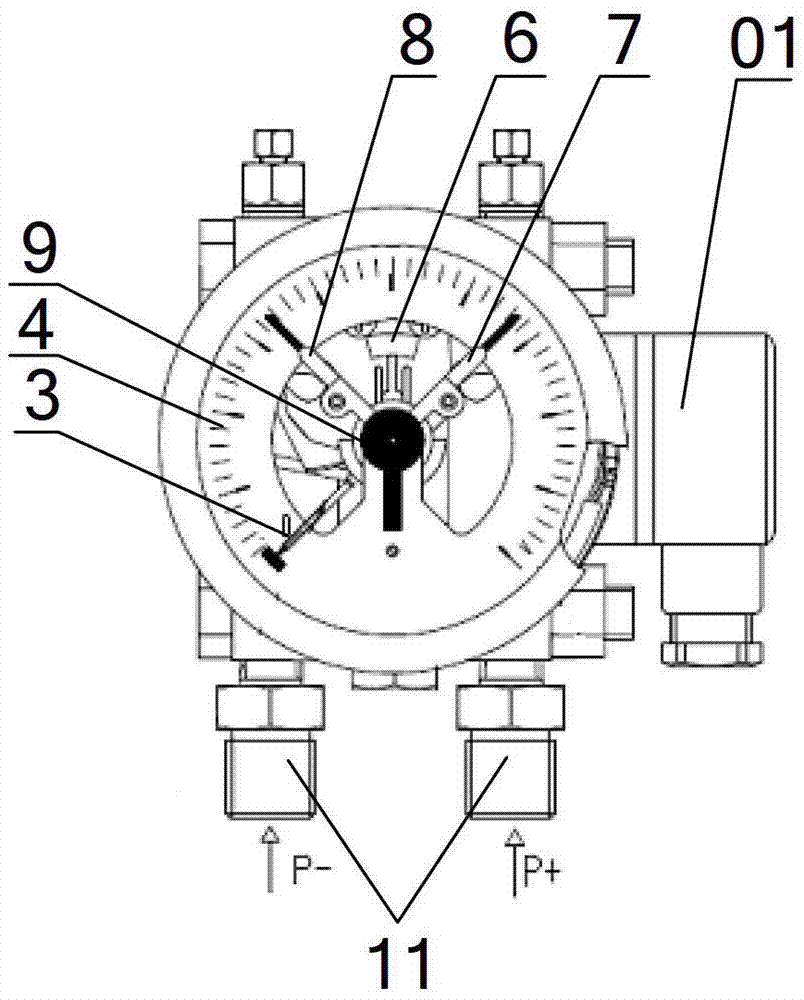
一种感应式电接点双膜片高静压差压表
图片尺寸804x1000
高静压差压表
图片尺寸296x256
德国wika差压表
图片尺寸554x338
设计和工作原理
图片尺寸345x259
压力表校验原理图
图片尺寸577x398
数字压力表的工作原理图解析
图片尺寸598x275
耐震双膜片式高静压差压表ycan-150 无锡铂睿测控仪表
图片尺寸650x930
结构原理
图片尺寸251x300
cywg 高静压差压表
图片尺寸736x395
压力表的精度等级分析
图片尺寸383x289
应用于制药企业生产中的液位检测技术的种类及选择指导_淮安润中仪表
图片尺寸1435x909
工作原理
图片尺寸966x655
差压液位计的典型应用
图片尺寸444x253
螺纹连接式耐高温隔膜压力表
图片尺寸400x232
压力表不锈钢差压表
图片尺寸431x217