压感

救命pencil一代二手这算是压感吗闲
图片尺寸1080x1439
ps压感怎么设置透明度为百分百
图片尺寸2048x1536
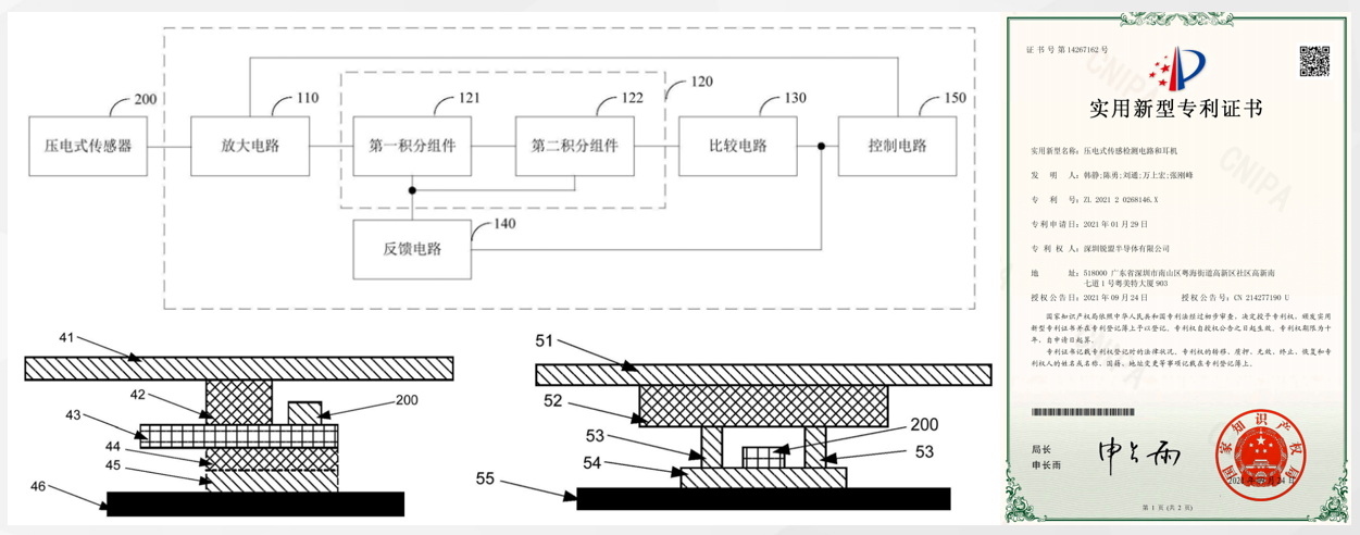
国产8192级压感剖析告诉你怎么设置压感怎么应用压感等压感应用的范围
图片尺寸1920x1038
国产8192级压感剖析告诉你怎么设置压感怎么应用压感等压感应用的范围
图片尺寸1910x1067
手残有救啦iqoopro压感按键助你超神吃鸡
图片尺寸640x480
压感水平有多重要比较1k2k4k和8k压感笔
图片尺寸1920x1080
airpods pro 2压感 滑动式交互引爆业界 深度解析原理与替代方案
图片尺寸1251x492
揭秘紫米tws耳机purpodspro的压感技术
图片尺寸1920x1080
压感按键
图片尺寸1200x800
ps笔刷豪无压感
图片尺寸1080x675
ps里的钢笔压感从哪里开?
图片尺寸314x402
procreate 平替笔上色笔刷设置 下笔快一点就有压感 - 抖音
图片尺寸1080x1441
柔性压感触控解决方案厂商纽迪瑞获得小米集团战略投资
图片尺寸1080x450
屏幕压感 吃鸡如开挂 黑鲨游戏手机2 pro体验
图片尺寸1131x522
ipencil无压感解决办法个人解决办法
图片尺寸1080x1439
活动 【绘画过程】库伊拉?(photoshop 压感笔)
图片尺寸3228x2018
倾斜压感(软件:procreate)
图片尺寸1080x1440
无比简单…无压感小速涂.#procreate绘画 #画画#自 - 抖音
图片尺寸1372x1920
howeasyboard组合式推拉压感黑板
图片尺寸1200x500
适用于 iqoo压感手机排线按键 游戏虚拟感应健 iqoo开机音量手机
图片尺寸800x800