压水井结构图

压井示意.jpg
图片尺寸792x458
联系学过的化学知识,按要求完成下列各题.
图片尺寸397x424
银河时光机器人创客学院——可可老师周六10:00班《压水井》
图片尺寸1599x1199
一种压水井
图片尺寸509x389
写生创意线描画老物件压水井附原照片
图片尺寸1080x1441
一种手动双缸压水井
图片尺寸627x1000
一种采用脚踏泵的压水井的制作方法
图片尺寸1000x589
压水井
图片尺寸500x400
一种压水井井头
图片尺寸1088x1279
自动压水井的制作方法
图片尺寸948x1000
微信扫码查看/分享专利 摘要:一种人力压水井掏井器,它的结构是在一段
图片尺寸800x1349
液压千斤顶怎么工作 原理是什么
图片尺寸521x345
华大单片机hc32f460驱动74hc595d
图片尺寸300x244
cn205401016u_节能压水井失效
图片尺寸1000x725
每日有趣gif图片牧羊犬赶羊时的画面
图片尺寸268x224
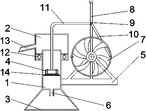
一种压水井省力取水装置制造方法及图纸
图片尺寸1000x799
日本传统的房子结构不妨将电影场景与表现真实情况的手绘图对比下
图片尺寸422x386
定做三脚架压水泵抽水机手动抽水泵吸水器井头压水井手摇水井不锈钢
图片尺寸760x890
乖宝宝幼儿园科学实验课第三课:空气的利用(压水机).
图片尺寸1079x804
【杠杆的应用非常广泛,如图所示,压水井的压杆就是一个杠杆.
图片尺寸181x154