压迫器图片

【普亚喜】动脉压迫止血器
图片尺寸600x450
术后使用压迫器压迫固定桡动脉
图片尺寸696x928
桡动脉压迫止血带
图片尺寸600x400
临时性压迫止血桡动脉止血器外科手术器械系列微创穿刺系列esd/ercp
图片尺寸800x450
桡动脉压迫止血带-气囊式
图片尺寸5044x3514
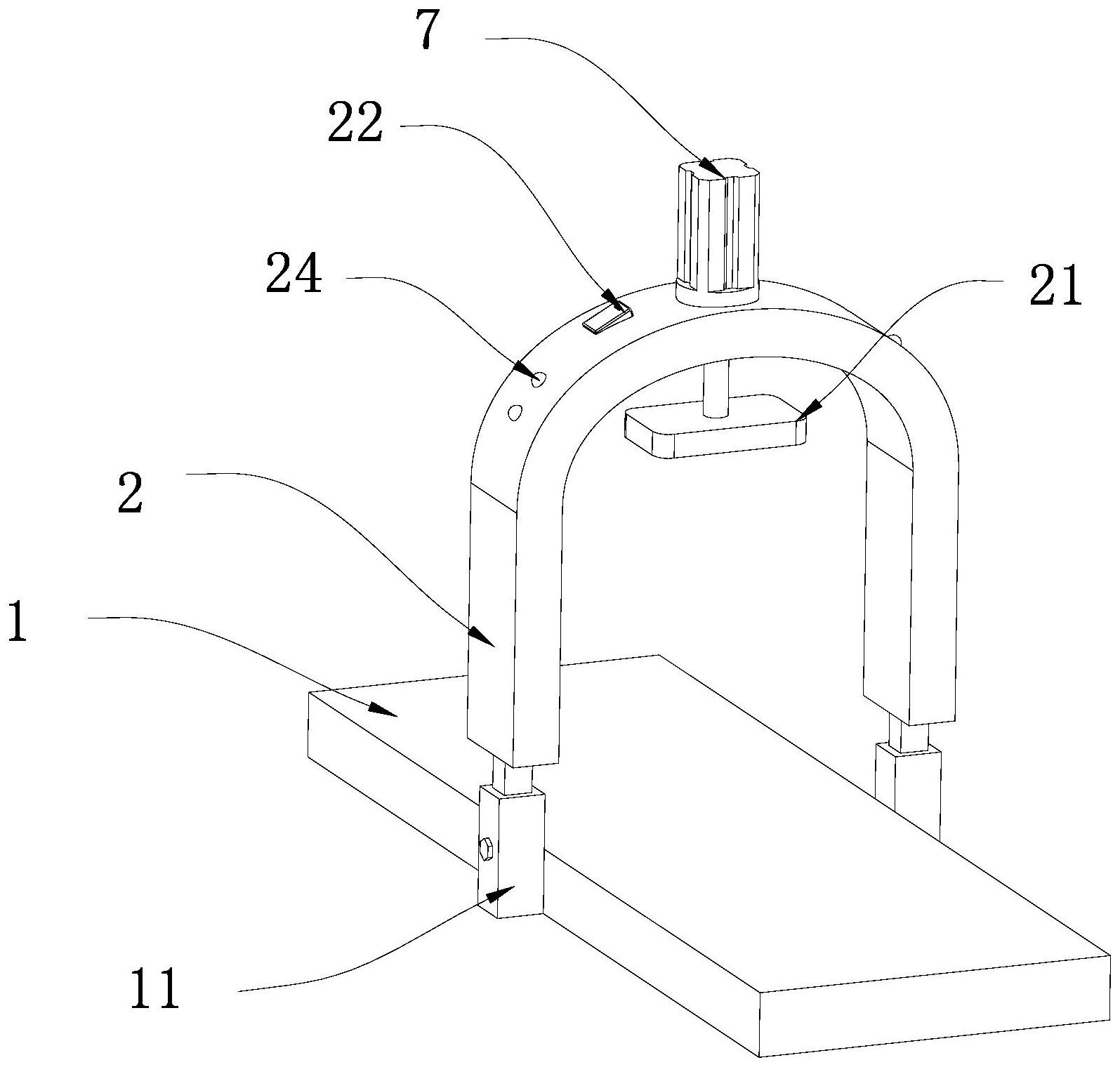
桡动脉压迫止血器
图片尺寸748x561
一次性使用桡动脉压迫止血器
图片尺寸496x355
westmark 德国铝制汉堡压迫器为您的厨房烧烤和烧烤的完美汉堡
图片尺寸679x1007
医用一次性 tr 闭合带 - buy 桡动脉压迫止血带,医用桡动脉带,医用全
图片尺寸1000x1000
桡动脉压迫止血器
图片尺寸590x800
取液用前列腺压迫器-爱企查
图片尺寸429x800
供应百特zxq-i股动脉压迫止血器
图片尺寸469x340
国产ym—gu-动脉压迫止血器在介入术后的止血效果
图片尺寸1432x2017
压迫式气动更换刹车油制动液工具汽车刹油更换机液压制动器换油机
图片尺寸750x750
没有压迫感,控制器再带的软件比较简洁,总
图片尺寸400x400
平时也免得压迫避震弹簧.
图片尺寸850x638
代理上海康德莱一次性使用动脉压迫止血带zxd ii-22 桡动脉止血器
图片尺寸1280x1280
压板向气囊补气,直到气囊鼓起;也可用力吸气,气囊吸瘪后,补气压板压迫
图片尺寸750x1125
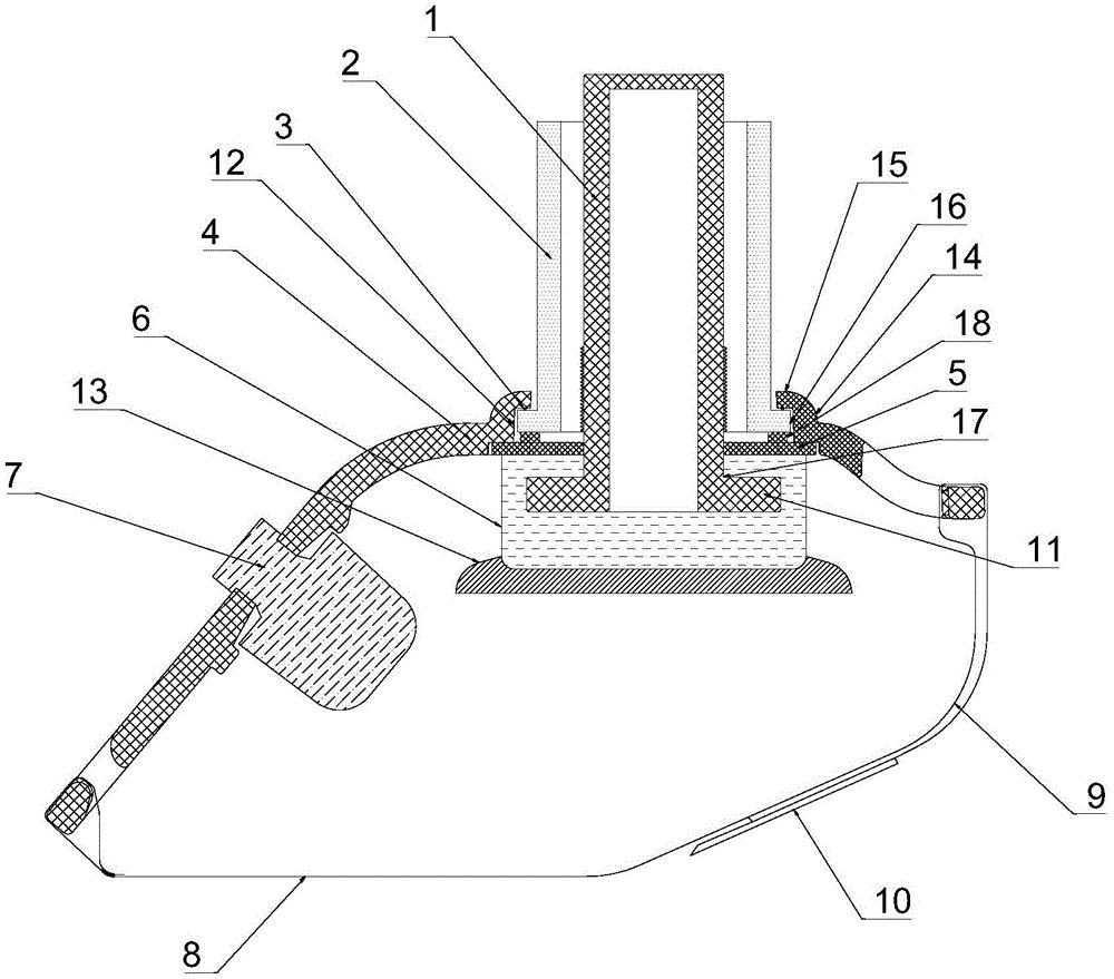
动脉压迫止血器
图片尺寸1000x879
肱动脉穿刺点位压迫止血器
图片尺寸1595x1520