厌氧罐的制作

水处理厌氧反应罐
图片尺寸1744x1704
青岛厂家生产制作厌氧膨胀颗粒污泥床egsb厌氧罐厌氧反应器
图片尺寸1440x1919
cn102220232a_机械出料酸化厌氧罐有效
图片尺寸2139x2613
kaichuang厌氧罐
图片尺寸3024x4032
凯业机械包头厌氧罐厌氧罐用途
图片尺寸600x584
固体干发酵厌氧罐的制作方法
图片尺寸1000x989
一种中温厌氧消化罐的制作方法
图片尺寸1795x1394
一种厌氧反应器的制作方法
图片尺寸963x1000
厌氧罐 厌氧塔直供 养殖废水 酿酒废水处理 现场制作 uasb反应器
图片尺寸750x750
供应 威铭牌 厌氧反应塔 养殖废水处理装置 厌氧反应罐 可定制
图片尺寸500x398
厌氧发酵罐制作安装公司-厌氧罐制作安装公司-化工仪器网
图片尺寸1008x756
一种发酵用厌氧罐的制作方法
图片尺寸637x1000
lzyy-1 厌氧氧反 应器 高度污水处理设备厌罐厂家现场浓制作
图片尺寸950x950
廊坊egsb厌氧罐,ic厌氧罐供应商,品质可靠欢迎了解,厌氧 - 抖音
图片尺寸720x900
高浓度液体发酵厌氧罐制造技术
图片尺寸981x1000
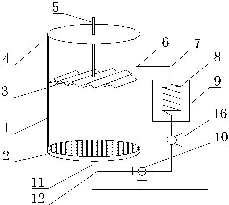
cn207957901u_一种改良型厌氧罐有效
图片尺寸463x413
发酵效率高的厌氧发酵罐的制作方法
图片尺寸265x443
污水厌氧罐加工 - 抖音
图片尺寸1440x1920
厌氧罐 污水处理沉淀池 曝气池 现场制作大型化工污水处理设备
图片尺寸800x800
厌氧反应器 高浓度污水处理设备 厌氧罐厂家现场制作
图片尺寸800x800