厨房搅拌机结构

恒联b30多功能搅拌机 搅拌机 厨房搅拌机 b30a. 厨房设备,和面机
图片尺寸701x454
9成新 商用厨房 力丰三功能搅拌机1000元转让
图片尺寸500x666
鲜奶搅拌机,万能搅拌机,搅拌机价格,搅拌机市场直售
图片尺寸400x500
欧圣恩110v/220v搅拌机 厨房万能调理机 20l
图片尺寸750x572
b10搅拌机-新博平台网址不锈钢环保厨房设备有限公司
图片尺寸1100x800
st-210搅拌机
图片尺寸760x760
新品茶糕电动g家用搅拌机肉馅拌料厨房餐厅馄饨火锅炒料机小型定
图片尺寸697x930
星丰食品机械 易维护型食品搅拌机 星丰商用食品机械 商业厨房
图片尺寸534x534
最小起订:- 发布 b20-11型高速搅拌机以全齿轮结构
图片尺寸408x401
高速鲜奶搅拌机—潍坊经开区锦绣小学厨房电器
图片尺寸500x882
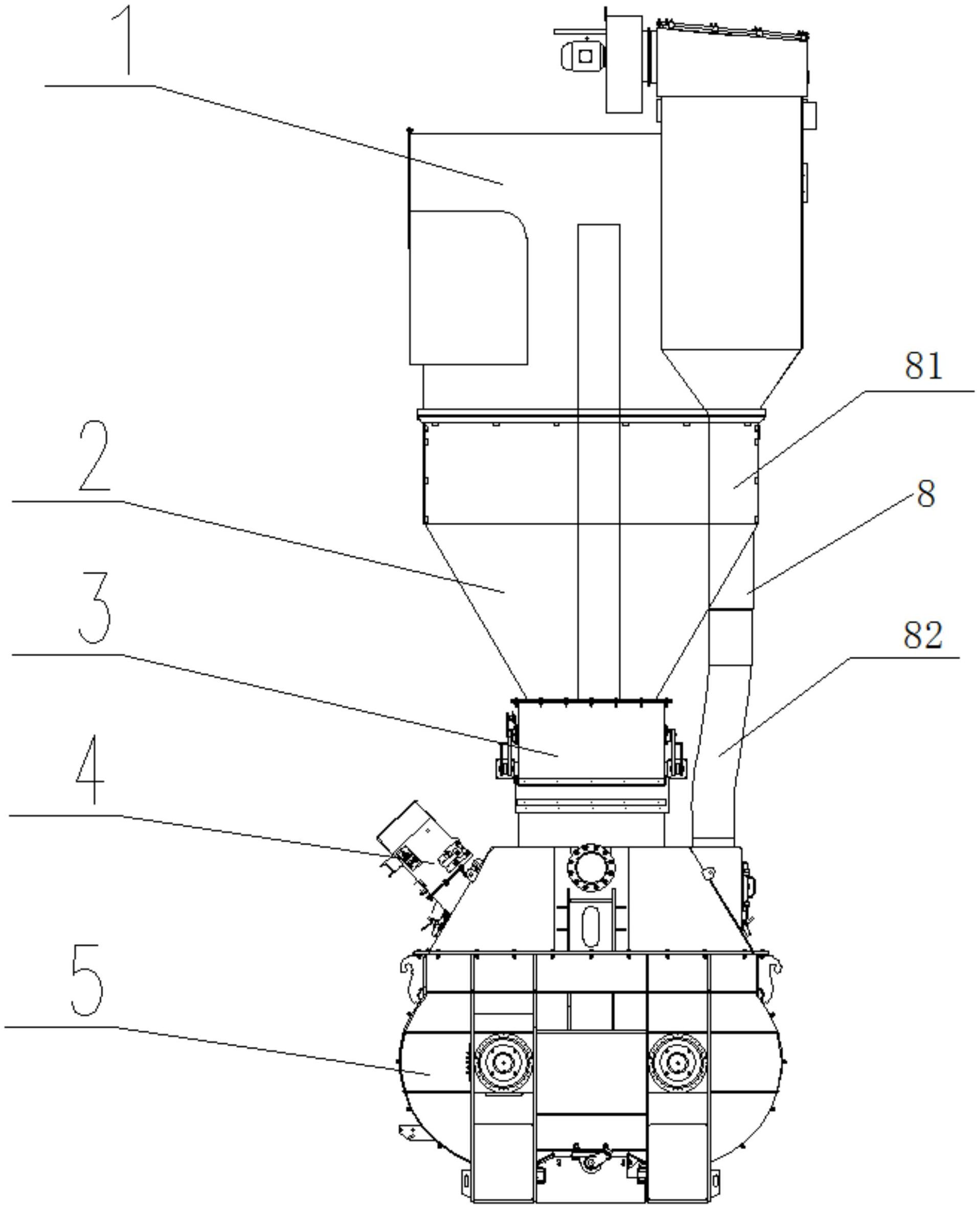
一种便于使用且搅拌效果好的搅拌器 本技术涉及厨房
图片尺寸810x1000
搅拌机,创新,空气,厨房,小型电器
图片尺寸1400x817
食品搅拌机厂家代生产口碑好的厨房搅拌机
图片尺寸800x533
工程机械s42m厨房食品搅拌机外形3d图纸solidworks设计
图片尺寸720x608
食堂厨房工程-搅拌机2
图片尺寸800x800
n-veon南峰 搅拌器 厨房多功能切菜器 绞菜机家用手动
图片尺寸750x781
食品搅拌机图纸
图片尺寸639x446
厨房酒店蒸煮设备 煮粥炒菜锅 加热搅拌机预煮机
图片尺寸488x599
搅拌机,创新,空气,厨房,小型电器, 工.
图片尺寸658x384
浙江厂家直销 低价提供不锈钢蔬菜搅拌器 不锈钢厨房工具
图片尺寸180x110