厨房水池简笔画

厨房洗菜池简笔画
图片尺寸750x500
水槽简笔画
图片尺寸800x450
厨房洗手池简笔画
图片尺寸500x500
向量集的水槽插画-正版商用图片0399zz-摄图新视界
图片尺寸700x700
怎么画洗碗槽简笔画图片
图片尺寸900x600
向量集的水槽插画-正版商用图片0f1538-摄图新视界
图片尺寸700x700
不锈钢水槽(ol-355)
图片尺寸1024x615
水槽简笔画 水槽简笔画怎么画
图片尺寸800x450
简笔画水池的画法
图片尺寸500x500
水槽简笔画 水槽简笔画怎么画
图片尺寸800x450
一种厨房水槽-爱企查
图片尺寸472x376
洗菜盆简笔画立面图
图片尺寸750x500
怎么画洗碗槽简笔画图片
图片尺寸900x600
浴室水槽图标
图片尺寸512x512
水槽
图片尺寸1376x963
水槽简笔画猜画小歌
图片尺寸500x492
厨房水槽
图片尺寸1024x607
bs-460 山东厨房水槽供应商
图片尺寸700x541
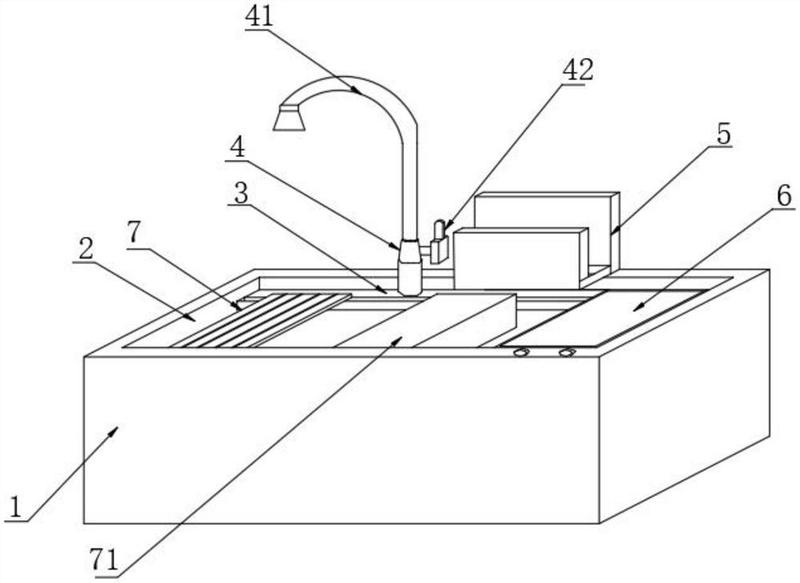
一种多功能厨房用水池-爱企查
图片尺寸800x583
浴室简笔画儿童画 浴室简笔画儿童画可爱
图片尺寸570x600