去石机结构图

比重去石机
图片尺寸389x477
比重去石机的原理及工作参数分析_王俊发
图片尺寸1471x820
一种比重去石机制造技术
图片尺寸1000x635
吸式比重去石机
图片尺寸660x660
一种比重去石机的制作方法
图片尺寸1000x994
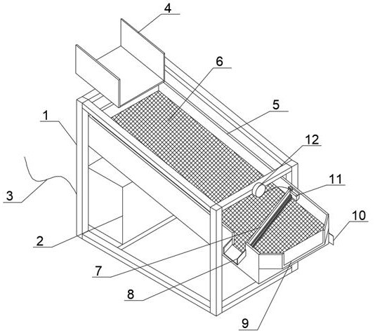
一种谷物去石机的制作方法
图片尺寸1000x732
比重去石机
图片尺寸742x737
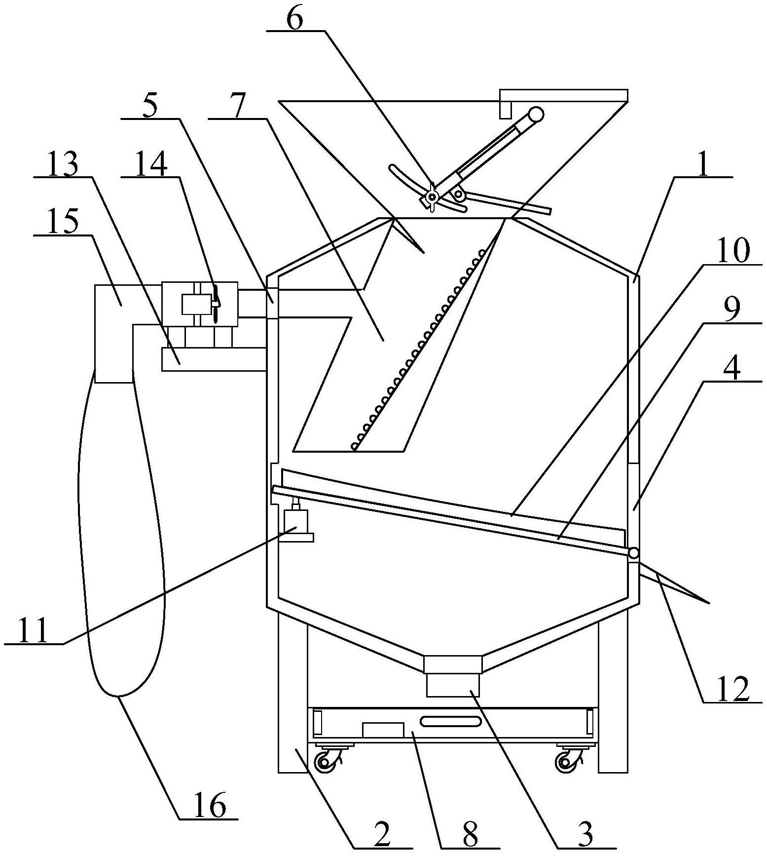
一种可自动喂料的比重分级去石机的制作方法
图片尺寸1000x944
一种高效比重去石机的制作方法
图片尺寸1000x864
首页 清理去石机 ※ 特点: 独特的精选室结构,保证石中不含粮,特别是
图片尺寸590x479
去石机,包括去石桶,支撑杆,排放管,出料孔,连接孔,可转动筛选漏斗结构
图片尺寸1555x1734
一种振动式去石机的筛选角度调节结构的制作方法
图片尺寸1000x985
tqsfb150新型比重分级去石机图纸与说明书_至和网zhwtk.com
图片尺寸1200x800
背景技术:稻谷在加工前,需要通过比重去石机将稻谷中的石头除去,从而
图片尺寸1000x925
强农tqsx型系列吸式比重去石机
图片尺寸662x820
一种用于粮油谷物加工的振动式去石机-爱企查
图片尺寸534x475
比重去石机的制作方法
图片尺寸1000x823
去石机的制作方法
图片尺寸1000x780
cn2766979y_节能不带粮吸式去石机失效
图片尺寸800x1069
一种吸式比重去石机的制作方法
图片尺寸1000x965