叉车转向桥结构图

2.2认识转向桥
图片尺寸2400x1350
cn201056231y_一种叉车转向桥失效
图片尺寸1799x1890
图例2:转向桥总成剖视图(30n-00005)
图片尺寸1080x810
断开式转向桥与独立悬架相匹配,其组成与非断开式相比有比较大的不
图片尺寸450x440
电动叉车及搬运设备用转向系统
图片尺寸1855x2817
转向桥主要由什么组成转向桥的功用是什么
图片尺寸450x380
转向驱动桥名词解释转向驱动桥在结构上有哪些特点
图片尺寸562x376
一种叉车用转向驱动桥的制作方法
图片尺寸443x291
转向驱动桥名词解释转向驱动桥在结构上有哪些特点
图片尺寸563x322
前桥的转向驱动桥
图片尺寸485x265
叉车转向桥主销轴承座应急修复方法
图片尺寸2212x1417
2.2认识转向桥
图片尺寸2400x1350
cn205395770u_叉车后转向驱动桥总成有效
图片尺寸1000x557
一种高置位电瓶叉车用转向桥的制作方法
图片尺寸1000x477
cn208324769u_一种高置位电瓶叉车用转向桥有效
图片尺寸1867x895
叉车液压转向器bzz1e160装载机液压转向器bzz1e160e
图片尺寸800x758
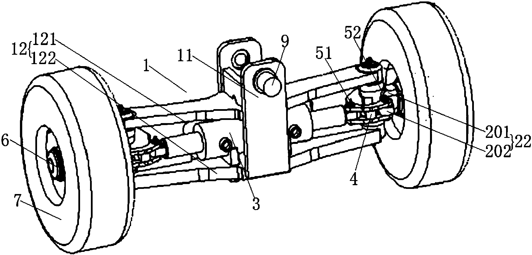
叉车转向桥及叉车的制作方法
图片尺寸1000x994
整体式转向桥整体式转向桥的组成
图片尺寸420x366
转向桥的结构转向车轮定位.ppt_第4页
图片尺寸800x600
一种越野叉车后转向驱动桥的制作方法
图片尺寸1000x482