叉车门架结构图

一种叉车门架油路结构-爱企查
图片尺寸1619x2524
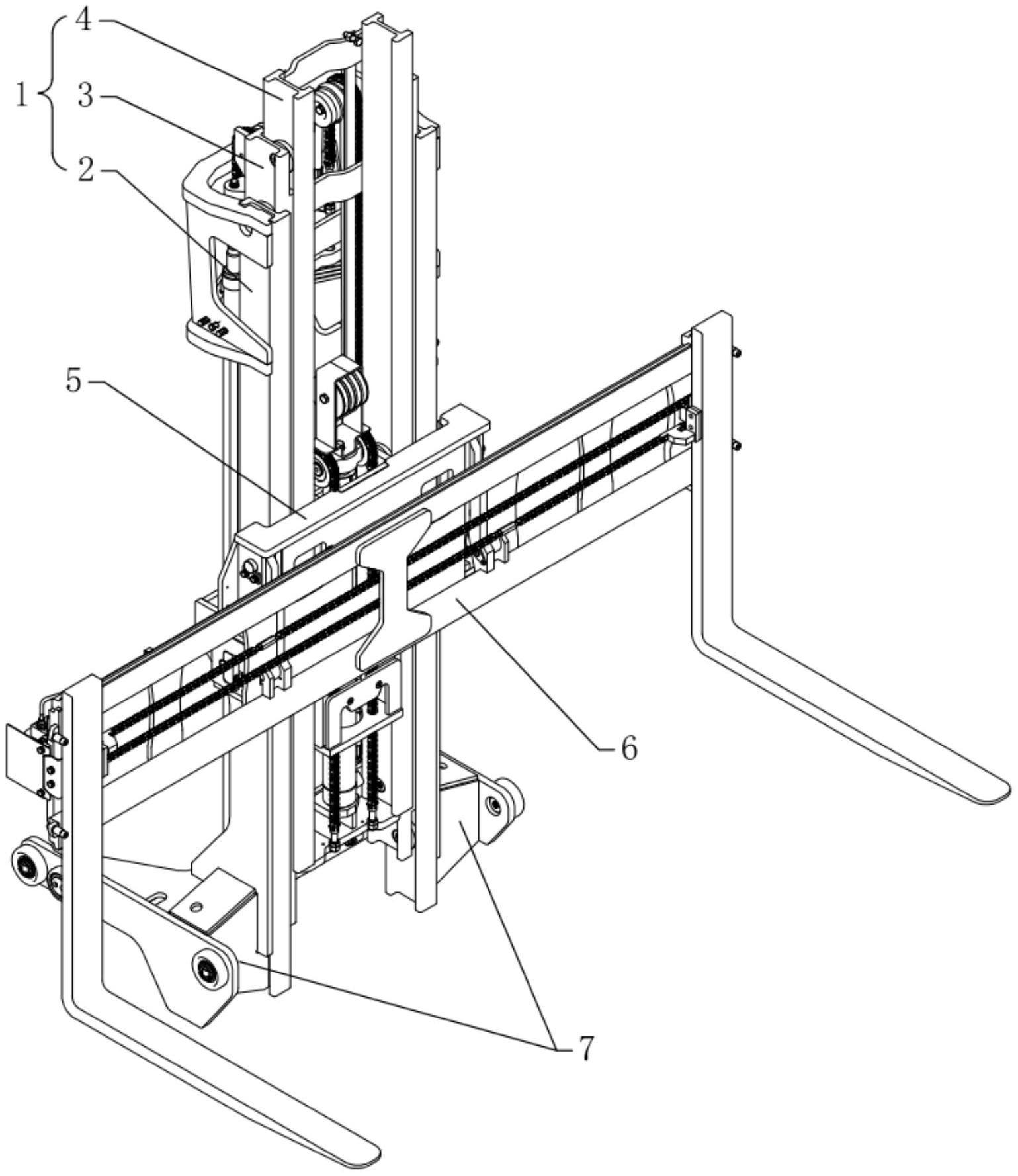
门架结构分析 一个完整的两级叉车门架系统包括货叉,货叉架
图片尺寸800x666
一种用于叉车的门架结构的制作方法
图片尺寸315x443
一种叉车轻型门架
图片尺寸1847x2376
叉车知识库丨叉车门架配件结构的组成部分有哪些?
图片尺寸957x673
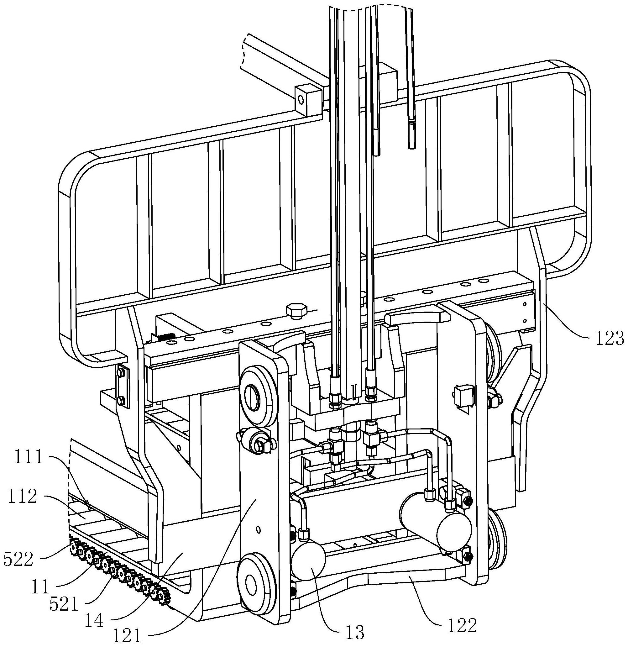
一种门架叉车走线机构叉车及安装方法
图片尺寸1423x1827
一种可调式叉车门架的制作方法
图片尺寸340x443
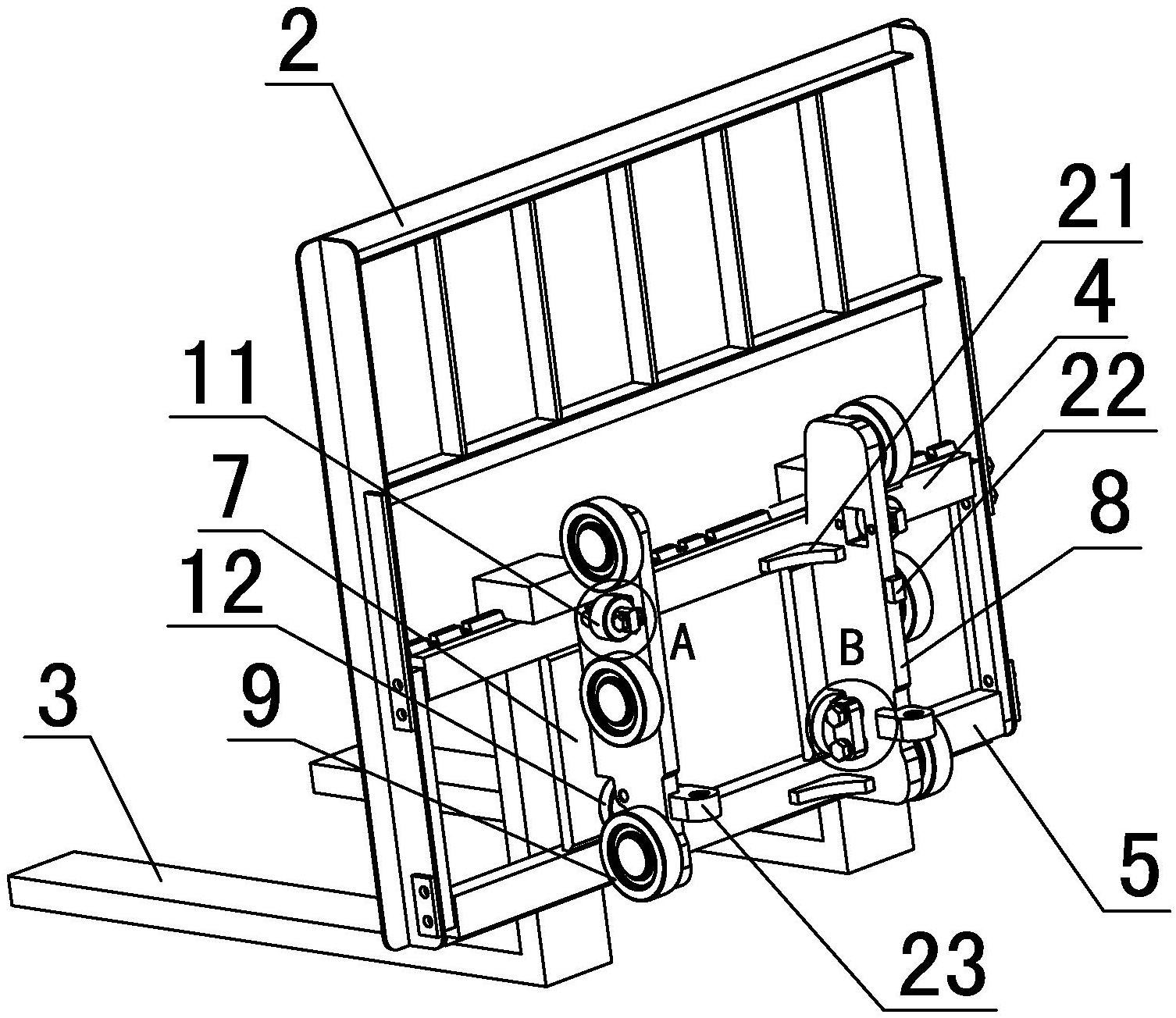
叉车门架总成,包括:外门架;上横梁总成,所述上横梁总成包括两个结构
图片尺寸1569x1894
一种多级起升叉车门架总成
图片尺寸983x1627
叉车知识库丨叉车门架配件结构的组成部分有哪些?
图片尺寸652x396
一种带导轨和侧滚轮结构的叉车门架及叉车的制作方法
图片尺寸661x1000
一种叉车用的门架缓冲结构的制作方法
图片尺寸398x444
一种叉车门架
图片尺寸2004x2064
一种叉车货叉架-爱企查
图片尺寸1506x1304
叉车门架
图片尺寸492x376
一种叉车门架装置及其前移式叉车-爱企查
图片尺寸1539x1777
一种带有双螺母防松结构的电动叉车用门架的制作方法
图片尺寸360x443
叉车外门架的结构改进
图片尺寸293x364
一种叉车门架前方视野可视化的镜面系统的制作方法
图片尺寸401x444
一种具有缓冲结构的叉车门架的制作方法
图片尺寸443x429