双吸泵工作原理

双吸泵装配图
图片尺寸2265x3033
sh中开单级双吸离心泵高扬程农用灌溉防洪排涝大型抽水泵
图片尺寸750x1161
抗旱排涝 大流量高效率cps1000
图片尺寸750x2048
双吸离心泵结构原理
图片尺寸581x605
单级双吸卧式离心泵:供水系统中的关键设备
图片尺寸1080x843
进口冷却循环水泵进口循环泵进口双吸泵进口水泵美国diaz迪亚兹双吸泵
图片尺寸1030x682
上海 连成 泵业上海连成水泵slow大型单级双吸中开蜗壳式离心泵
图片尺寸750x1014
as单级双吸离心泵
图片尺寸1000x707
双吸离心泵结构与工作原理详解,优缺点分析
图片尺寸720x960
电动驱动方式:清水输送介质:否是否进口:是加工定制:离心泵原理:贝工
图片尺寸750x799
什么是双吸中开卧式离心泵
图片尺寸640x415
ssh单级双吸离心泵sn中开泵高扬程水泵大型抽水45kw
图片尺寸750x2287
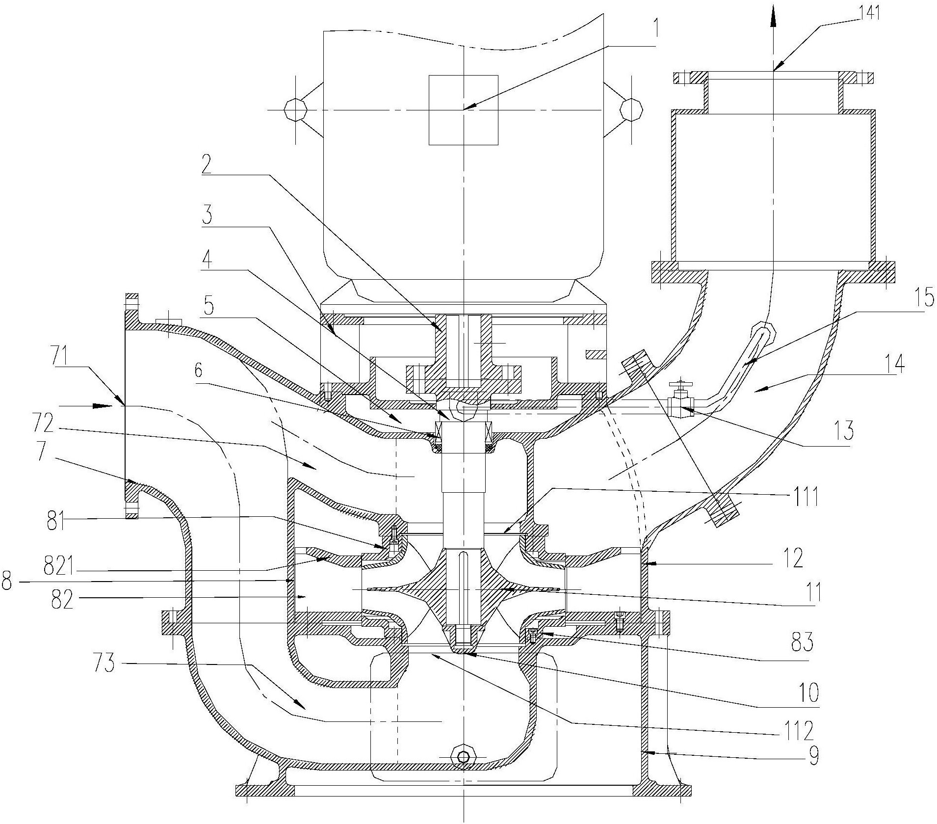
一种立式双吸自吸泵
图片尺寸1910x1679
sow蜗壳中开式双吸离心泵 大流量卧式离心单级双吸泵
图片尺寸750x750
双吸中开泵泵壳耐冲刷磨损耐腐蚀修复,用高分子复合材料稳稳拿捏
图片尺寸325x332
单级双吸中开泵
图片尺寸735x317
350s-16卧式中开双吸离心泵 14sh-28大流量双吸式循环泵 双吸中开泵
图片尺寸750x871
🌈 离心泵工作原理大揭秘 🌈
图片尺寸695x394
当前第8页) 你可能喜欢 机械维修基础知识 液力耦合器工作原理 水泵
图片尺寸1080x810
sh/s/sa双吸中开离心泵结构图
图片尺寸559x278