双头螺柱装配图

双头螺柱. 制图
图片尺寸346x264
双头螺柱加工工艺
图片尺寸465x712
双头螺柱bm
图片尺寸1615x633
采购双头螺柱螺栓 图纸
图片尺寸602x803
双头螺柱
图片尺寸2245x1387
双头螺柱联接 当被联接的零件之一较厚,或不允许钻成通孔而不易采用
图片尺寸531x653
大量批发碳钢双头螺栓 gb901-10.9级螺栓m4-m100长度20mm-10
图片尺寸718x346
双头螺丝
图片尺寸945x522
q22gh双头螺栓.dwg
图片尺寸1200x800
304不锈钢双头螺栓加工
图片尺寸876x522
以下所示双头螺柱连接的主视图中哪一幅是正确的
图片尺寸890x1260
a型缩梗双头螺栓gb897-898-899-gb901-1.
图片尺寸883x269
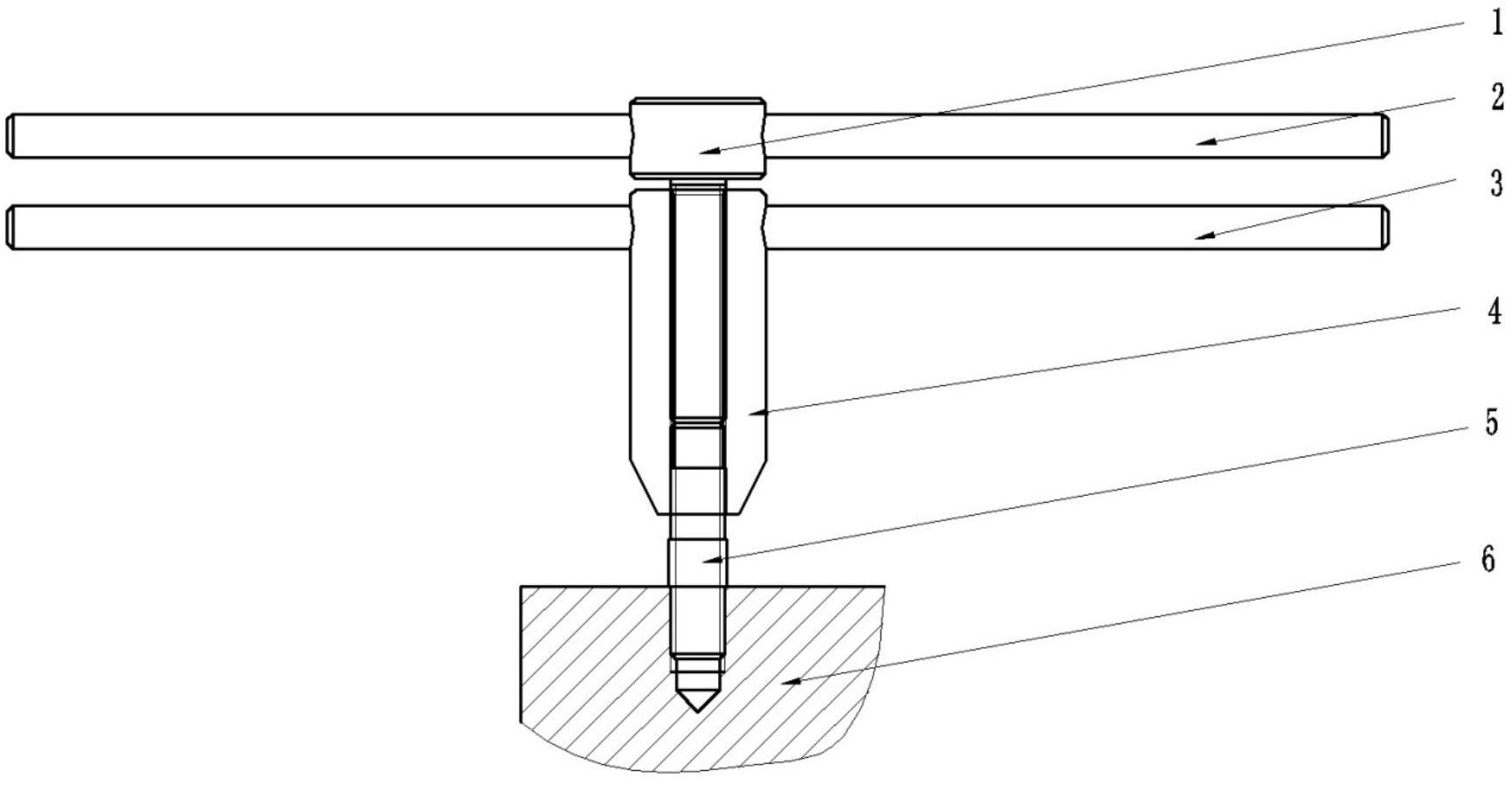
一种用于双头螺柱快速装配的装置-爱企查
图片尺寸1731x906
双头螺柱加工工艺
图片尺寸511x693
双头螺柱支撑钉钻孔装配图铣床夹具装配图赠钻模板图纸参数图纸id
图片尺寸810x560
cn101244549a_双头螺柱装配器失效
图片尺寸1720x832
双头螺栓液压紧装置
图片尺寸1920x1844
机械制图之标准件-螺纹紧固件及其装配图的画法
图片尺寸277x324
双头螺柱尺寸gb89788
图片尺寸650x231
非标双头螺栓加工
图片尺寸1267x800