双工器电路图

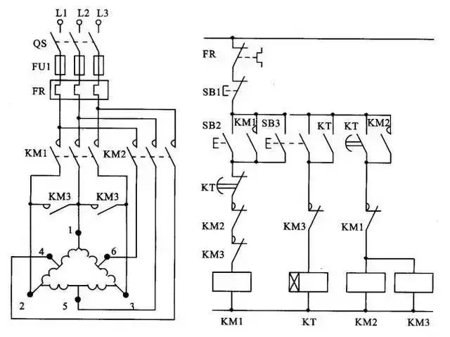
36,零基础学电工-双速电动机高低速控制电路(电路仿真图)
图片尺寸640x490
每日一图,双电源保护控制电路#维修电工 #电气控制 #电工电 - 抖音
图片尺寸706x562
射频前端是最重要的模块电路之一,射频前端中的滤波器尤其是双工器又
图片尺寸1441x1119
zdj9双机电路图怎么跑
图片尺寸2533x1125
ep7003band3baw双工器datasheet
图片尺寸1397x797
tda7052有线双工对讲机
图片尺寸550x660
一种基于薄膜体声波谐振器技术的滤波器构成的双工器
图片尺寸1956x1427
一种用于凝聚态核磁共振的高隔离度主动式射频双工器
图片尺寸2327x1704
适用于双频收发系统的改进型双工器 本专利技术涉及电路设计领域,特别
图片尺寸785x1000
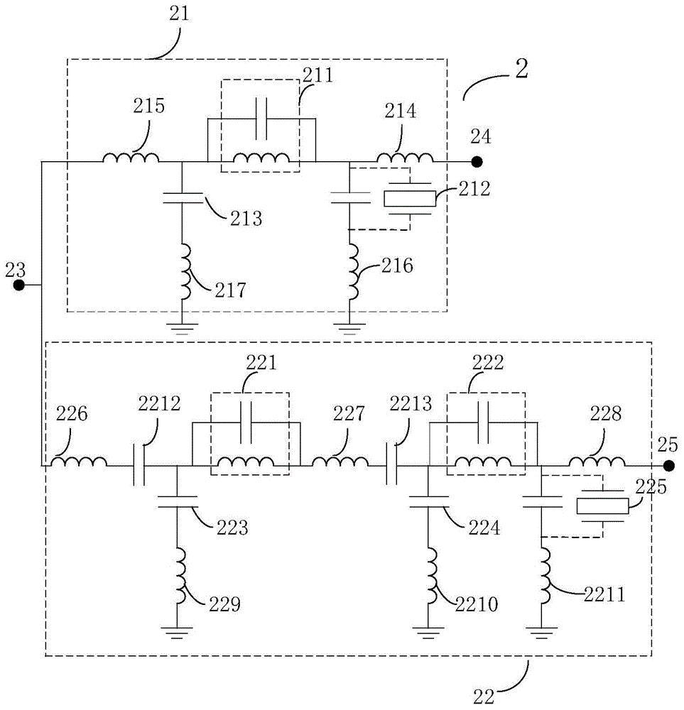
一种双工器电路
图片尺寸1409x911
cn110661508a_一种双工器,多工器,高频前端电路以及通信装置在审
图片尺寸963x1000
1.本发明属于微带电路领域,具体涉及一种双工器及其通信,感知装置.
图片尺寸1577x1141
cn1901437a_通信系统双工器和多工器以及双工多工方法失效
图片尺寸2042x1412
cn109842391a_芯片上同向双工器
图片尺寸1000x807
双工器的制作方法
图片尺寸1000x518
双电源电路图
图片尺寸700x558
34张电气工程精华图,老师傅看了都说全面
图片尺寸640x479
声控双工无线对讲机电路图
图片尺寸900x730
双工器制造技术
图片尺寸1000x955
摘要附图摘要本实用新型公开了一种双电源自动转换电路,包括断路器qf1
图片尺寸575x450