双曲线齿轮结构图

工程图 上怎么表达 双曲面齿轮 啮合?
图片尺寸600x529
主减速器齿轮类型有哪些?
图片尺寸631x235
准双曲面锥齿轮的例子,谁有?
图片尺寸292x265
双曲面齿轮solidworks三维模型
图片尺寸820x622
准双曲面齿轮传动
图片尺寸720x1280
平行轴传动的不等压力角端面双圆弧齿轮机构
图片尺寸391x443
双曲面直锥齿轮及其建模方法
图片尺寸1000x924
正弦曲线双圆弧齿廓齿轮形状示意图
图片尺寸400x418
cn101135357a_具有双圆弧齿廓的谐波齿轮传动失效
图片尺寸1153x1126
基于刀具法向基准的奥利康准双曲面齿轮精确建模与验证
图片尺寸700x638
准双曲面齿轮的设计 ppt
图片尺寸1080x810
准双曲面齿轮小轮无偏置滚轧模具设计及制造方法与流程
图片尺寸1000x867
一种用于榨油机的准双曲面齿轮传动机构
图片尺寸1000x793
应注意,双曲柄机构与齿轮传动,带轮传动等实现的运动转换在性质上有所
图片尺寸1772x446
双联齿轮a3
图片尺寸830x654
双曲线齿轮
图片尺寸2067x1292
双联齿轮该如何画
图片尺寸1440x900
想设计准双曲线面齿轮,该用什么软件呢
图片尺寸803x640
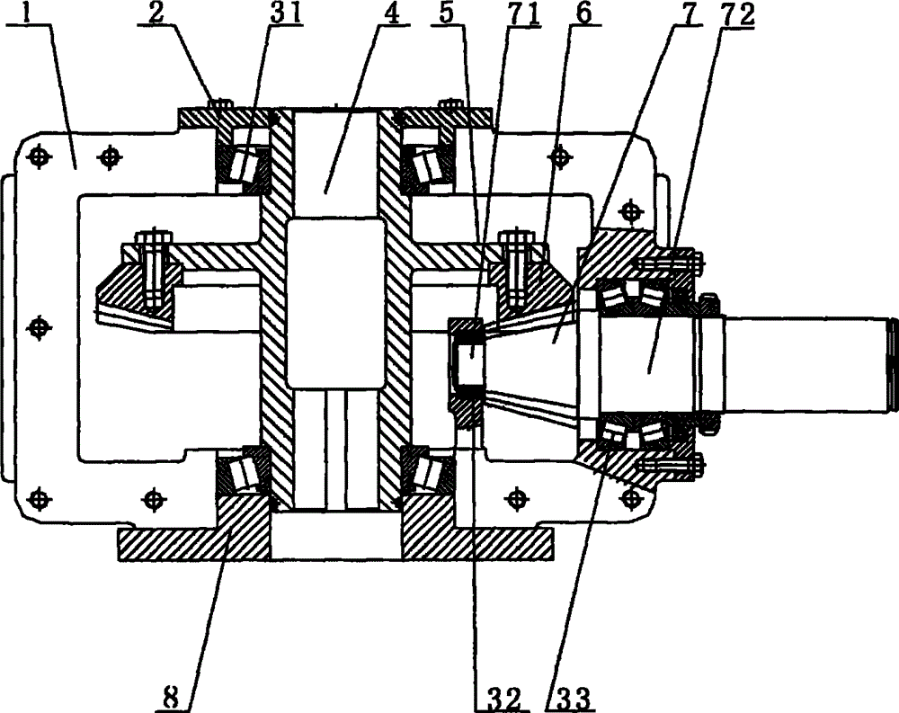
一种三级准双曲面齿轮减速机
图片尺寸2588x1853
一种双曲线齿轮传动
图片尺寸864x486