双活塞杆液压缸简图

双作用双活塞杆式液压油缸
图片尺寸720x432
双杆活塞缸,缸体与工作台相连,整个工作台的移动范围是液压缸当活塞的
图片尺寸918x655
一种双作用双级液压缸镀铬活塞杆
图片尺寸1917x1116
是工作原理简图啦,没必要画成圆柱体,缸体和活塞如图所示,至于活塞杆
图片尺寸970x346
实心双活塞杆液压缸的结构图
图片尺寸1099x447
cn202012526u_三工位双作用双杆液压缸有效
图片尺寸1176x2177
一种双活塞杆液压缸的制作方法与工艺
图片尺寸291x1000
双作用活塞式液压缸结构图
图片尺寸684x300
各类工程机械中最常用的构件是各类的液压油缸,液压油缸是指由活塞杆
图片尺寸1000x481
cn204371821u_双活塞杆双活塞双作用液压缸有效
图片尺寸1000x366
一种食品机械双向多转向液压活塞油缸
图片尺寸1932x471
一种双活塞杆导向式举升油缸
图片尺寸1730x1226
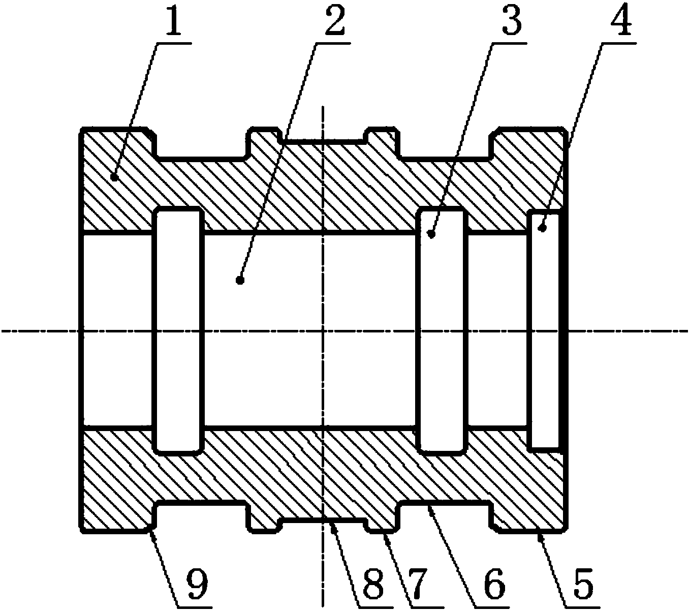
一种双出杆高压油缸活塞制造技术
图片尺寸1000x905
活塞式液压缸
图片尺寸700x251
一种双出杆高压油缸活塞
图片尺寸1356x1202
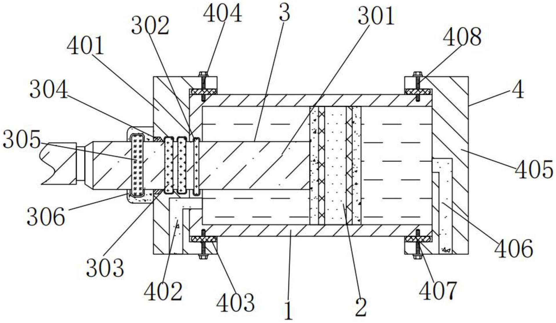
阀杆装入阀套孔中,再将阀芯铆压阀杆上,装入活塞杆孔中;活塞组件套在
图片尺寸2086x1547
车辆用液压缸
图片尺寸610x609
cn86101725a_中心输油的双级双作用液压油缸失效
图片尺寸1312x1888
图2:单活塞式双出杆液压油缸图3:双活塞式双出杆液压油缸双出杆油缸是
图片尺寸500x269
双活塞杆液压缸 1.
图片尺寸1080x810