双璧合一

爱情成语
图片尺寸2133x1200
扳机崽去年差不多这个时候还是后.
图片尺寸500x451
双璧合一,愈美愈险的《梦蝶—男女软功》以高超的技巧难度征服了现场
图片尺寸484x720
双壁合一
图片尺寸600x401
双壁合一,帅不.还有阿姨给请问和奶茶的照片,没拍到,今晚太开心来.
图片尺寸1080x1080
朋友送的和自己买的来个双壁合一吧
图片尺寸1276x871
云南的一道窗口,是富源历史的缩影,是自然景观与人文景观的双璧合一
图片尺寸650x362
石家庄pvc双壁波纹管,pvc双壁波纹管规格,爱民塑胶
图片尺寸434x300
塑料波纹管 双壁波纹管,hdpe双壁波纹管,波纹管,pe
图片尺寸532x469
双璧合一,愈美愈险的《梦蝶—男女软功》以高超的技巧难度征服了现场
图片尺寸544x720
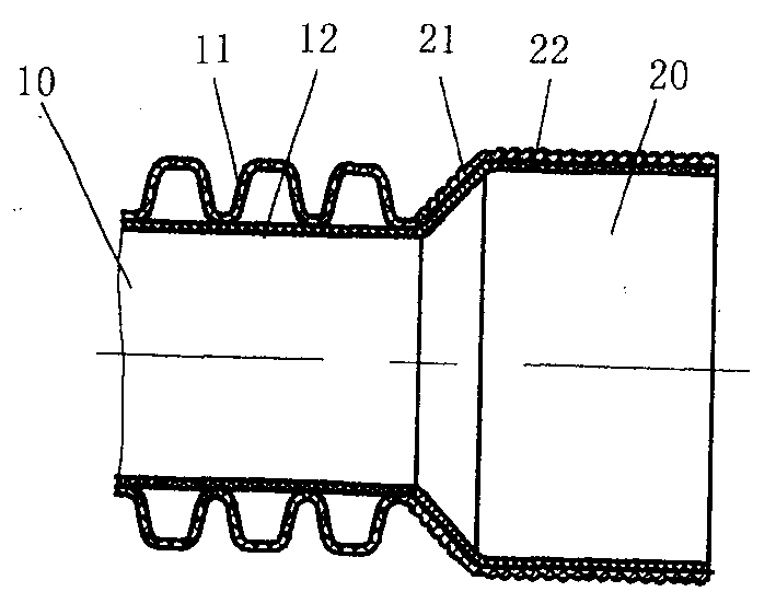
具有双壁合一承口的聚乙烯双壁波纹管
图片尺寸709x562
诗圣草圣,双璧合一. 翻阅此帖,赏心悦目.
图片尺寸679x540
有一种爱,在咫尺之间穿越无限;有一种恋,双璧合一,愈美愈险;有一种
图片尺寸1080x720
免费文档 所有分类 工程科技 机械/仪表 承插式双壁
图片尺寸522x307
双璧合一:巴黎之花二百周年纪念套装
图片尺寸500x600
【hdpe双壁波纹管厂家 生产pe管南昌厂址dn400八级】
图片尺寸975x1300
hdpe双壁波纹管500供应保定厂家直销【价格,厂家,求购
图片尺寸1920x1325
双璧合一 摩托罗拉智能机a780促销2630元
图片尺寸500x375
有一种爱,在咫尺之间穿越无限;有一种恋,双璧合一,愈美愈险;有一种
图片尺寸1080x720
中行巾帼,双璧合一
图片尺寸1080x1913