双管德林杰图纸

刺杀林肯的凶器:德林杰手枪__财经头条
图片尺寸640x499
德林杰手枪
图片尺寸220x200
box-type two-stroke internal combustion engine for
图片尺寸2004x2966
追问 既然是双管,是不是两管到可以发?有多少发子弹?
图片尺寸156x228
新枪来了优雅的德林杰
图片尺寸1080x608
德林杰手枪
图片尺寸300x187
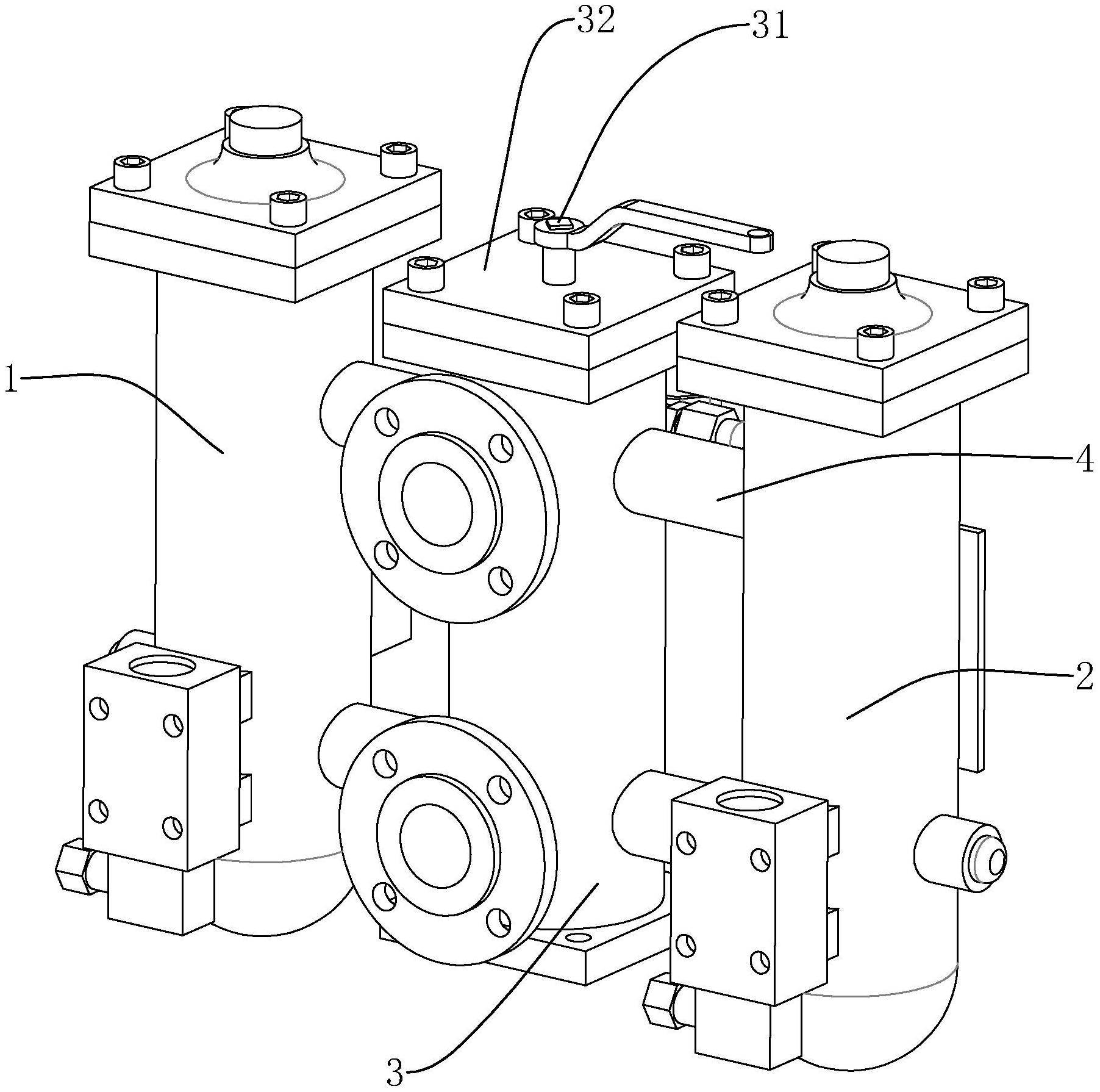
一种双筒管路过滤器
图片尺寸1804x1790
经典的立式双管袖珍手枪学名叫德林杰在中国则叫掌心雷
图片尺寸640x377
比较少见的德林杰手枪射击测试
图片尺寸448x252
往期精选掌心雷bondarms公司德州防御者系列手枪图集
图片尺寸1080x809
verringerung des verbrauchs von prozessgasen bei
图片尺寸1098x1264
1535597001671083351.jpg
图片尺寸760x1103
德林杰迷你双管喷子散弹左轮软弹仿真抛壳儿童男孩金属解压玩具枪
图片尺寸800x800
长仅10厘米的迷你双管枪
图片尺寸964x516
双管德林杰手枪的3d动画演示
图片尺寸960x540
双管板换热器图纸
图片尺寸893x1263
cn105683702a_在两种流体之间交换热量的热交换器,利
图片尺寸552x1000
cn206458853u_一种双向密封自泄压超低温浮动球阀有效
图片尺寸801x1000
枪械:掌心雷双管德林杰手枪
图片尺寸960x540
双管德林杰手枪 bond arms公司的双管德林杰手枪 这个枪上下两个
图片尺寸960x1280