双缸气泵拆解图

smc双作用气缸原理smc代理
图片尺寸1394x1147
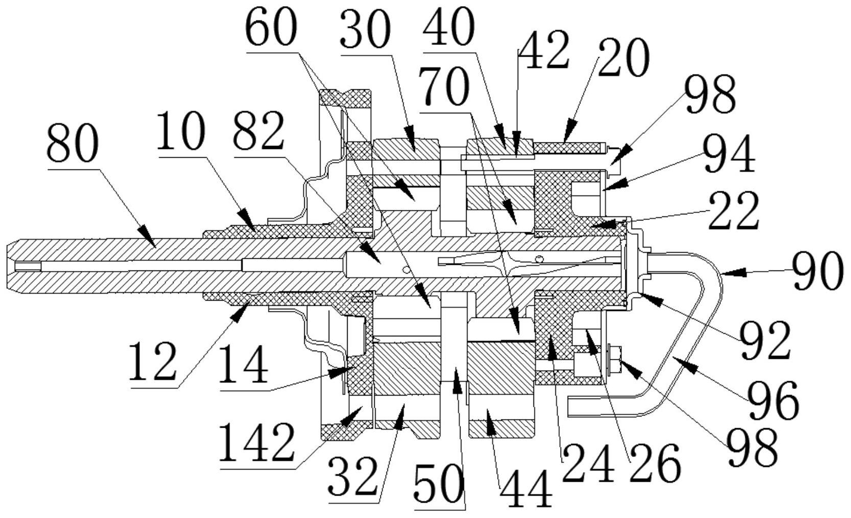
一种双气缸压缩机泵体以及双气缸压缩机
图片尺寸1667x1015
【图】应急打气泵拆解_桑塔纳论坛_汽车之家论坛
图片尺寸700x933
双吸泵的结构分类以及简单维护
图片尺寸613x300
双十一曝光结义车品专营店50双缸车载充气泵套路翻警示帖 - 拆机乐园
图片尺寸1380x1380
天成泵业 专业生产销售 双吸泵
图片尺寸2265x3033
12sh-9b双吸泵@应城12sh-9b好用吗
图片尺寸1447x1114
一种双缸双电机式充气泵
图片尺寸1676x1541
一种高压双吸泵
图片尺寸1633x1302
cn211852150u_双螺杆泵结构
图片尺寸2495x1632
台湾kawake负压泵jp-200h模具环保无油真空泵抽气量真空抽气泵
图片尺寸750x1300
2w.w型双螺杆泵
图片尺寸408x300
双向气缸
图片尺寸800x581
一种新型的带可拆卸隔舌活块的中开式双吸泵
图片尺寸1567x1362
双吸泵总装图
图片尺寸800x583
2w.w型双螺杆泵
图片尺寸500x348
一种双活塞增压弹簧气缸的制作方法
图片尺寸1000x829
2w.w双螺杆多项混输泵
图片尺寸551x309
一种前置齿轮的双吸双螺杆泵
图片尺寸1840x1147
双轴气缸和三轴气缸的区别有哪些以及其应用场合
图片尺寸1500x1020